EasyManua.ls Logo

Argos 6164933 - Page 7

Argos 6164933
20 pages
Print Icon
To Next Page IconTo Next Page
To Next Page IconTo Next Page
To Previous Page IconTo Previous Page
To Previous Page IconTo Previous Page
Loading...
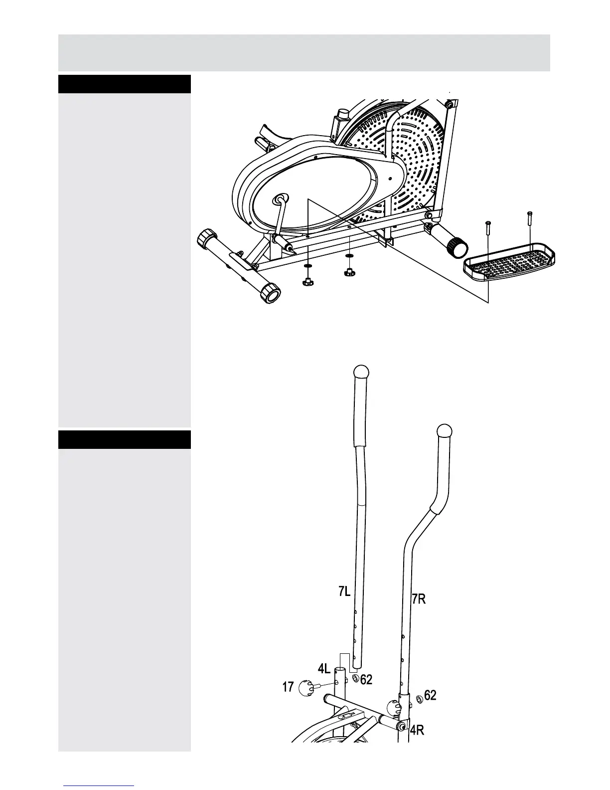
Step 4
Assembly Instructions
Attach the Pedals
(11L/R) to the Pedal
tubes (6L/R) with Hex
bolt (44), Flat Washer
(65) and Knob (76).
Step 3
Insert the Handle bar
(7L/R) to the coupler bar
(4L/R), select a height
setting that is comfortable
to the user, and make
sure both handle bars
are set at the same
height. Lock each handle
bar in a place with Knob
bolts (17). Then cover
with plastic cap (62).
Note:
You can easily switch
your Handlebars (7L/R)
between the dual-action
mode and the fixed
mode during your
workout.
76
65
76
65
6R
6L
11L
44
44
11R
6

Related product manuals