EasyManua.ls Logo

Ariston Nuos Evo Split 110 - Page 92

Ariston Nuos Evo Split 110
Print Icon
To Next Page IconTo Next Page
To Next Page IconTo Next Page
To Previous Page IconTo Previous Page
To Previous Page IconTo Previous Page
Loading...
Esquentador com bomba de calor – INSTRUÇÕES DE USO E MANUTENÇÃO
90
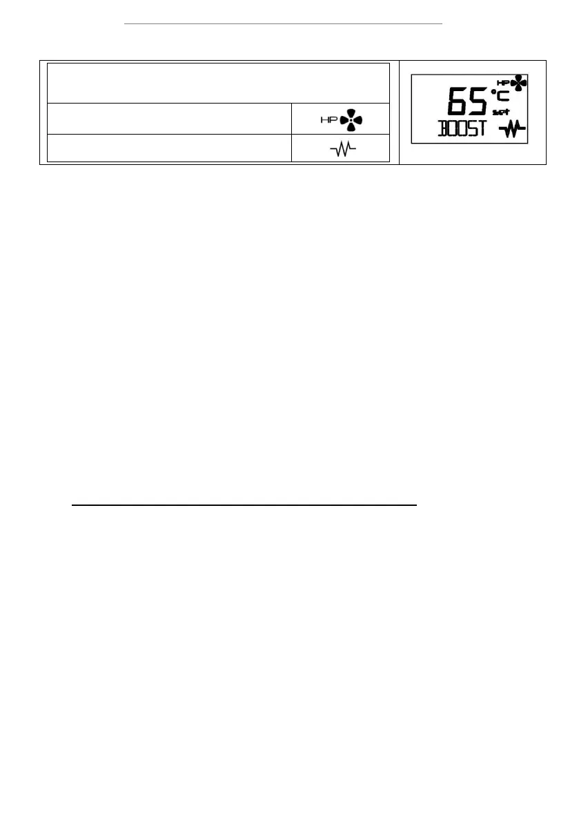
7.4 Modos de funcionamento
Em condições de funcionamento normal, através da tecla “mode”, é possível
alterar o modo de funcionamento com o qual o esquentador atinge a temperatura
definida. O modo seleccionado é visualizado na linha sob a temperatura.
Se a bomba de calor for activada, aparece o símbolo:
Se a resistência eléctrica for activada, aparece o
símbolo:
AUTO: o esquentador reconhece como atingir a temperatura pretendida num número limitado de horas, com
uma utilização racional da bomba de calor e, apenas se necessário, da resistência. O número máximo de horas
utilizado depende do parâmetro P9 - TIME_W (consulte o parágrafo 7.7), cuja predefinição é de 8 horas.
(recomendada para o inverno).
BOOST: activando este modo, o esquentador utiliza simultaneamente a bomba de calor e a resistência para
atingir a temperatura pretendida no mais curto espaço de tempo possível. Uma vez atingida a temperatura, o
funcionamento regressa ao modo AUTO.
BOOST 2 (activável através do menu do instalador): Respeito ao Boost, a modalidade Boost2 permanece
activa mesmo depois que tiver sido alcançada a temperatura de set.
GREEN: o esquentador interrompe o funcionamento da resistência e utiliza apenas a bomba de calor,
garantido a máxima poupança energética! A temperatura máxima atingível depende do valor do parâmetro P3
(51-62 °C), consulte o parágrafo 7.7. A resistência eléctrica poderia ligar-se somente na eventualidade em que
se verifiquem inibições de funcionamento da bomba de calor (erros, temperatura do ar fora do intervalo de
funcionamento, processo de degelo em curso, anti-legionella). Esta função é recomendada para temperaturas
do ar superiores aos 0 ºC nas horas de aquecimento.
PROGRAM (pode ser activado somente através do menu do instalador): O aparelho dispõe de dois
programas, P1 e P2, que podem funcionar unitariamente ou juntos, durante o dia (P1+P2). O aparelho pode
activar a fase de aquecimento para alcançar a temperatura escolhida no horário prefixado, dando prioridade ao
aquecimento através da bomba de calor, e somente se necessário, através das resistências eléctricas.
Pressione a tecla “mode” até seleccionar a modalidade Program desejada, gire o selector para configurar a
temperatura desejada, pressione o selector para confirmar, Gire novamente o selector para configurar o horário
desejado e pressione para confirmar. Na modalidade P1 + P2 podem-se configurar as informações para ambos
os programas.
Para esta função é necessário configurar o horário actual, veja o parágrafo sucessivo.
Advertência: para garantir o conforto, no caso de funcionamento na modalidade P1+P2 com horários próximos
entre si, é possível que a temperatura da água seja mais alta que a temperatura configurada, neste caso pode
aparecer o símbolo das ondas.
VOYAGE (activável através do menu do instalador): concebido para situações de ausência do local de
funcionamento do esquentador, é possível definir os dias de ausência durante os quais o esquentador
permanecerá desligado. No dia de reactivação predefinido, o funcionamento voltará para a modalidade AUTO.
Activar-se-á apenas para disponibilizar água quente no dia de regresso. A protecção contra a corrosão
continua a ser assegurada e o produto manterá automaticamente a temperatura da água do depósito acima
dos 5 °C. Prima a tecla “mode” até seleccionar o modo VOYAGE, rode o selector para definir o número de dias
(“days”) e prima o selector para confirmar. No visor, continua apenas a indicação do número de dias restantes
até à reactivação do produto.
Se, por exemplo, sair de casa um sábado de manhã para voltar no domingo da semana seguinte, será
necessário, sábado de manhã, configurar 7 noites de ausência para ter disponibilidade de água quente ao
voltar para casa no domingo durante o dia. Para interromper a função, é suficiente carregar na tecla “mode”.

Related product manuals