EasyManua.ls Logo

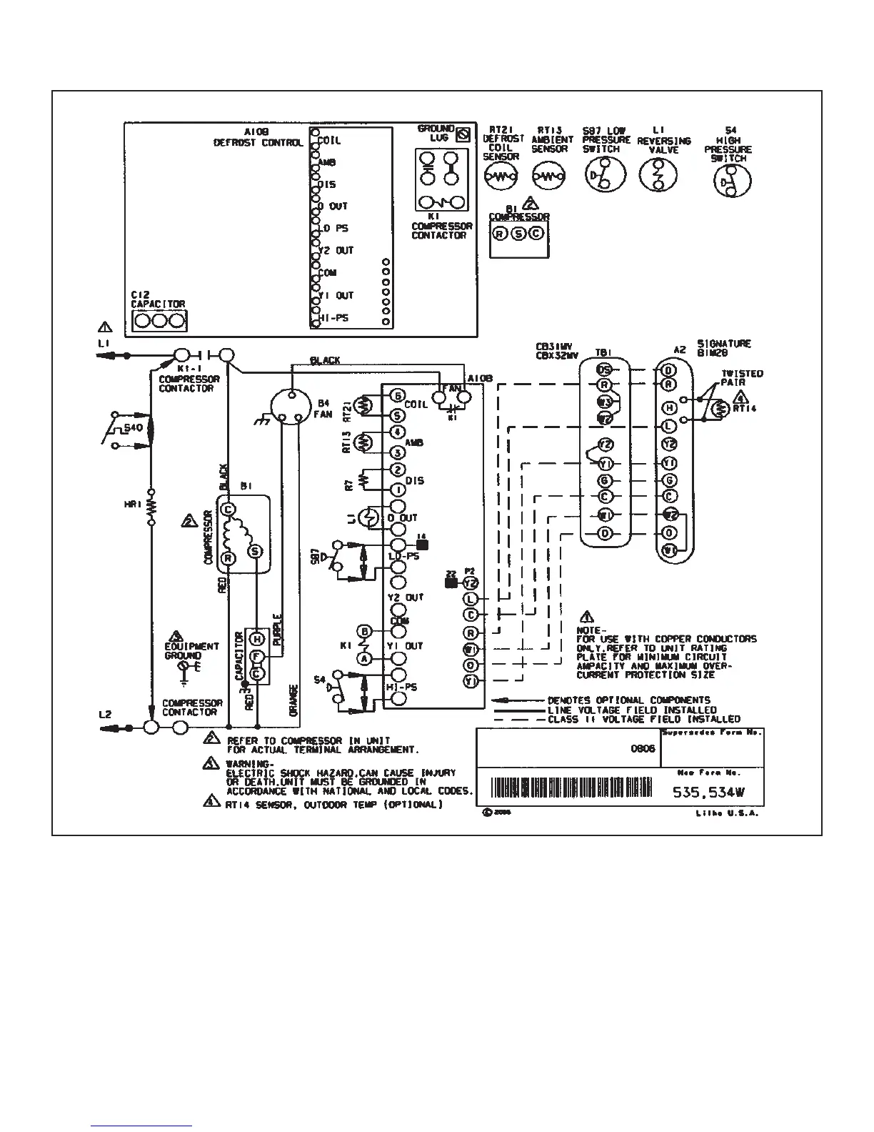
Armstrong Air Conditioning 4HP13 - Single Phase Wiring Diagram (14 Seer)

Default Icon
17 pages
Print Icon
To Next Page IconTo Next Page
To Next Page IconTo Next Page
To Previous Page IconTo Previous Page
To Previous Page IconTo Previous Page
Loading...
Page 15 of 17506318-01 Issue 0946
H/P 14 SEER WIRING DIAGRAM