EasyManua.ls Logo

Arrow CPH202007 - Page 20

Arrow CPH202007
34 pages
Print Icon
To Next Page IconTo Next Page
To Next Page IconTo Next Page
To Previous Page IconTo Previous Page
To Previous Page IconTo Previous Page
Loading...
15
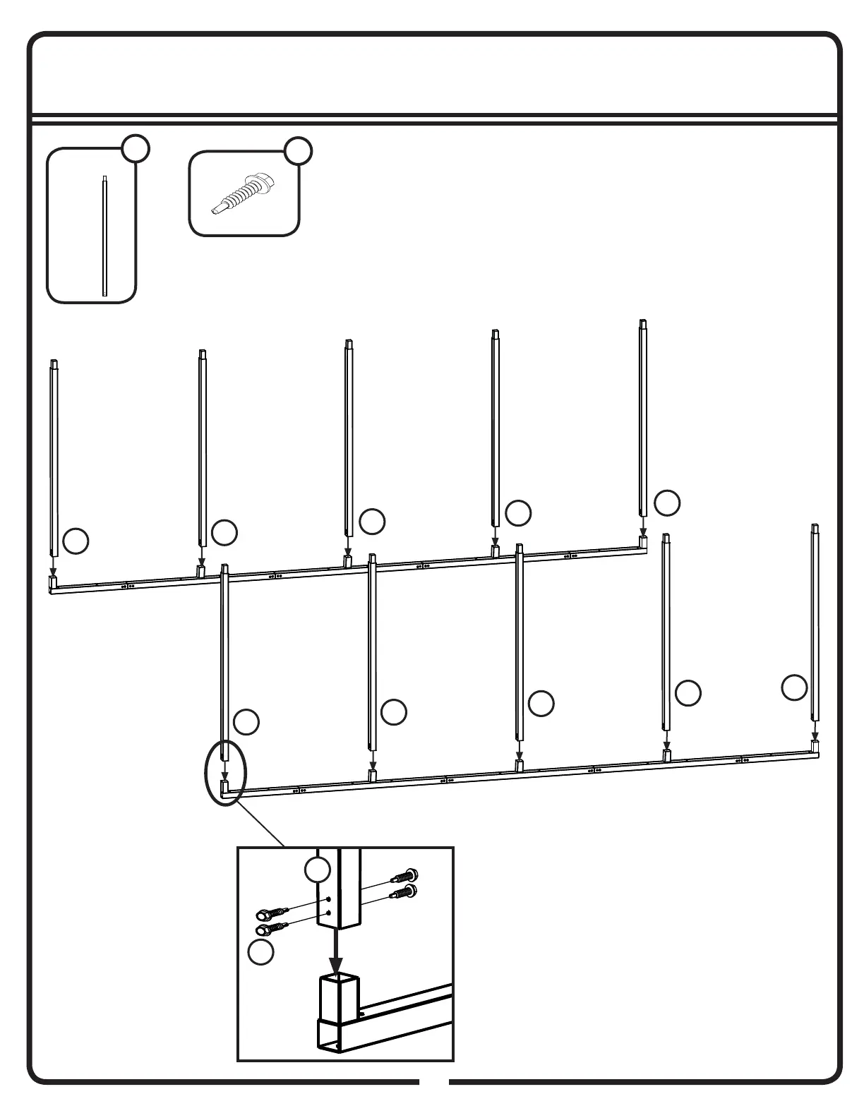
Step 4B / Étape 4B / Paso 4B / Schritt 4B
19EZa
20
804860
A
(x40)
H
H
H
H
H
H
H
H
H
H
H
805698
(x10)
H
A
x4
805698

Related product manuals