EasyManua.ls Logo

Arrow SCG1012CC Series - Page 19

Arrow SCG1012CC Series
48 pages
Print Icon
To Next Page IconTo Next Page
To Next Page IconTo Next Page
To Previous Page IconTo Previous Page
To Previous Page IconTo Previous Page
Loading...
18
18IC
10397
10397
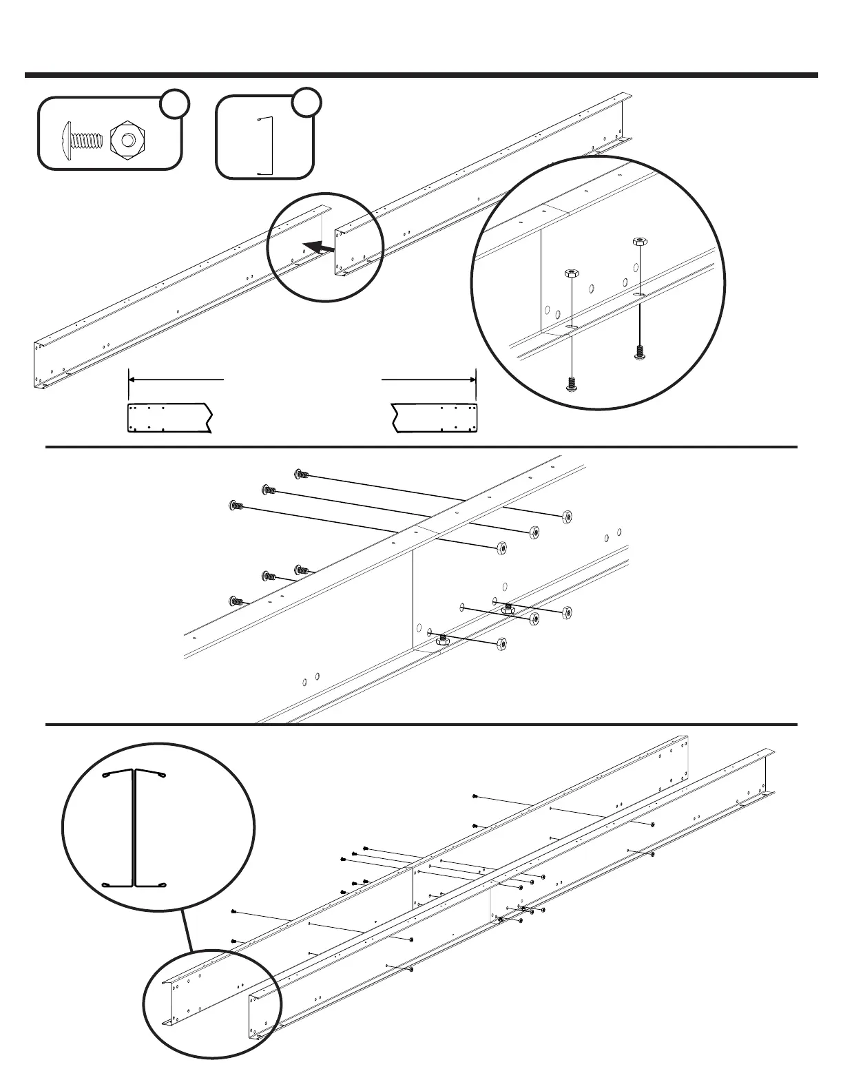
END VIEW
Vista desde un
extremo
Vue d’extrémité
2: PRE-ASSEMBLY
PRÉ-ASSEMBLAGE
PRE-ENSAMBLE
65923 65103
30
VORMONTAGE
Endansicht
X4
10397
8
65923
65103
10397
10397
65923
65103
X2
10397
10397
10397
10397
10397
10397
65923
65103
Finished Length
142 3/8” 361,6 cm

Related product manuals