EasyManua.ls Logo

Artika Austin - Page 8

Artika Austin
32 pages
Print Icon
To Next Page IconTo Next Page
To Next Page IconTo Next Page
To Previous Page IconTo Previous Page
To Previous Page IconTo Previous Page
Loading...
8
E
C
D
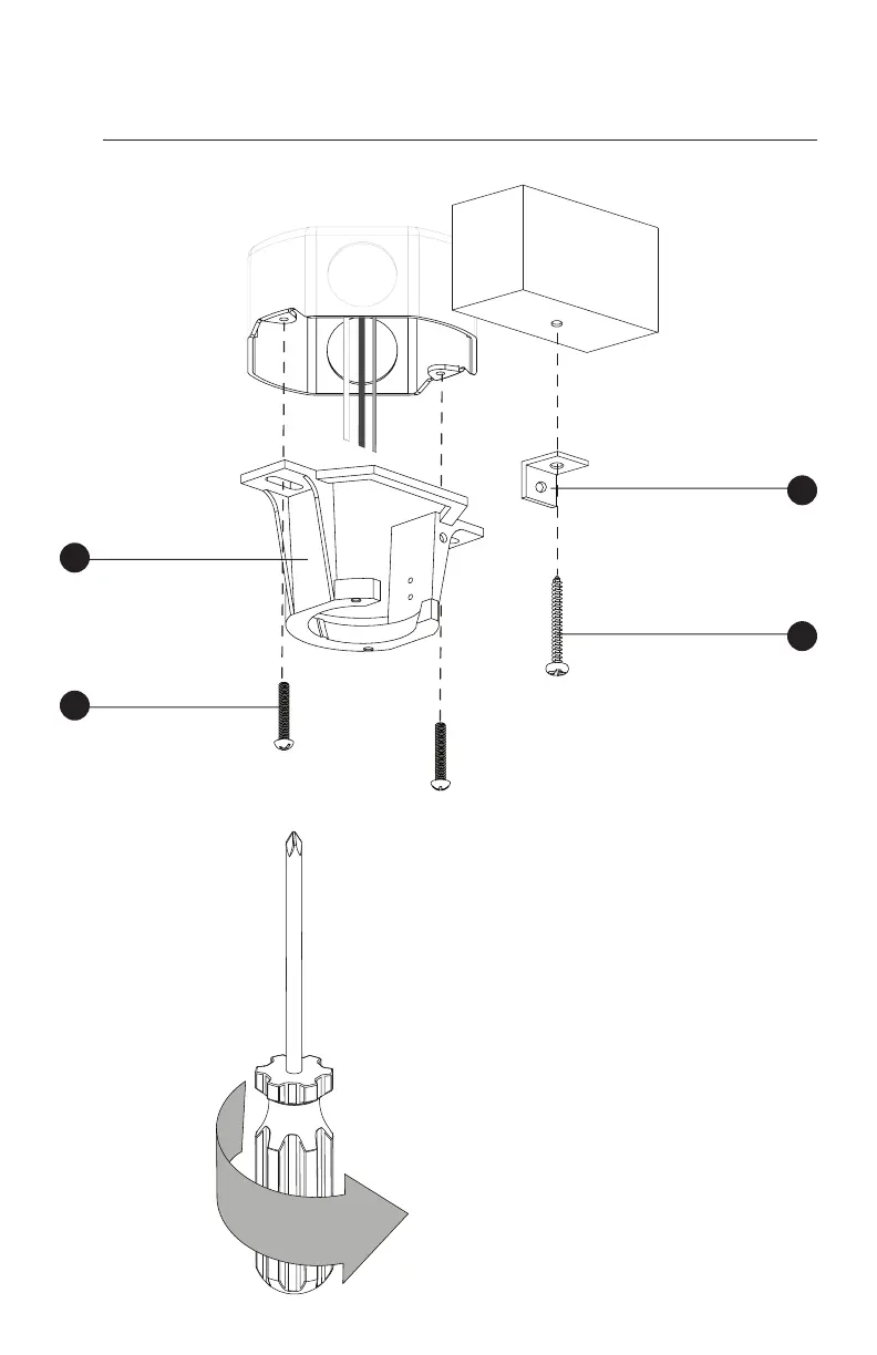
MOUNTING BRACKET INSTALLATION
INSTALLATION DU SUPPORT DE FIXATION
INSTALACIÓN DEL SOPORTE DE MONTAJE
2
B