EasyManua.ls Logo

Astatic 631L - Page 2

Astatic 631L
2 pages
Print Icon
To Previous Page IconTo Previous Page
To Previous Page IconTo Previous Page
Loading...
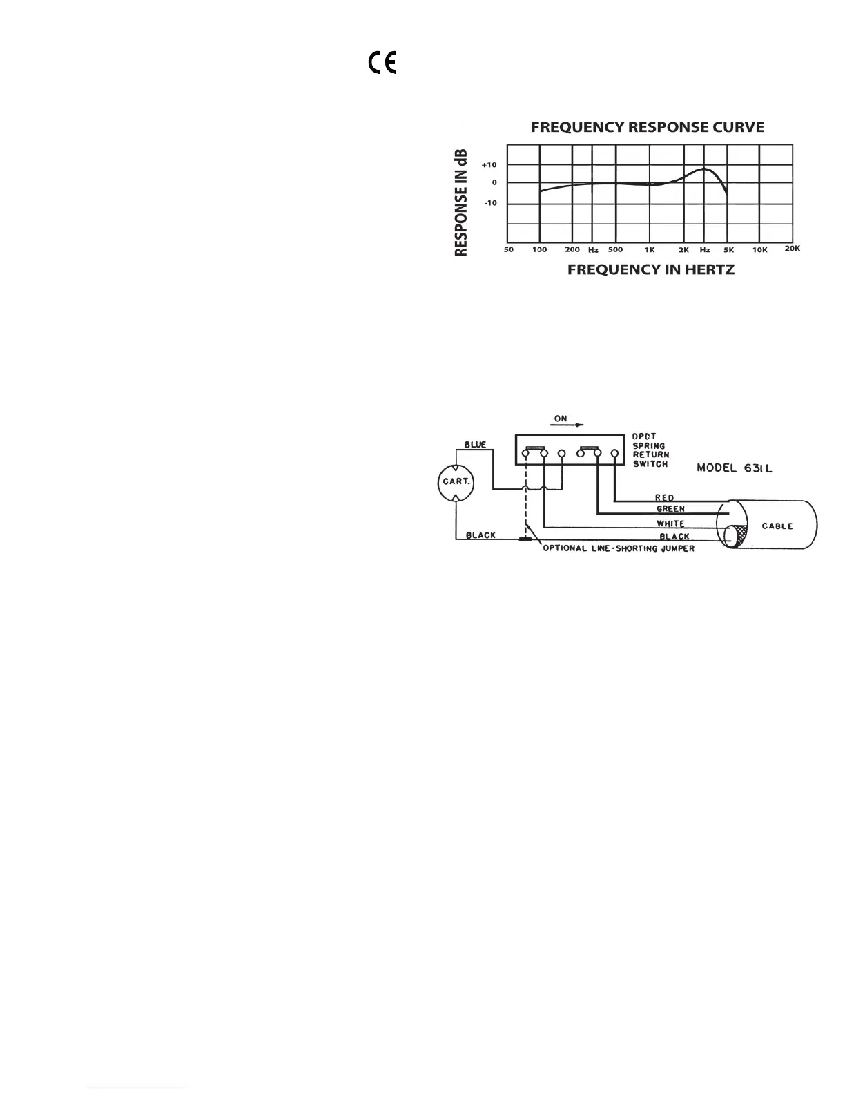
SPECIFICATIONS FOR 631L
TWO-YEAR LIMITED WARRANTY
Omnitronics, LLC. (“ASTATIC”) hereby warrants that this product will be free of defects in material and workmanship for a period of two years
from the date of purchase. In the unlikely event a defect occurs ASTATIC will, at its option, either repair or replace with a new unit of equal or
greater value. You should retain proof of purchase to validate the purchase date and return it with any warranty claim. Return warranty claims
carefully packed, insured and prepaid to the Service Department, 341 Harbor St. • Conneaut, OH 44030.
This warranty excludes exterior finish or appearance, damage from abuse, misuse of the product, use contrary to ASTATIC’s instructions or
unauthorized repair. All implied warranties or merchantability or fitness for a particular purpose are hereby disclaimed and ASTATIC hereby
disclaims liability for incidental, special or consequential damages resulting from the use or unavailability of this product.
This warranty gives you specific legal rights and you may also have other rights which vary from state to state. Some states do not allow the
exclusion or limitation of incidental or consequential damages or limitations on how long an implied warranty lasts, so the above exclusions and
limitations may not apply to you.
Note: No other warranty, written or oral is authorized by Omnitronics, LLC
Specifications
Element:
Dynamic noise cancelling
Frequency Response:
100 to 5000 Hz
Output Level:
-58 dB (0 dB = 1mw / 10 microbars)
-80 dB (0 dB = 1 volt / microbar)
1.0 mV/PA
Impedance:
200 ohms, matches 50 to 1000 ohms
Cable:
Four conductor, two shielded, permanently attached,
heavy duty, coil cord that extends to 1.8m (6 ft.)
Switch:
Operated by press-to-talk lever, DPDT long life, trouble free switch
with spring return, has smooth feel. Wired normally open
Housing:
Durable molded black Cycolac
Dimensions:
100mm (3-15/16") high x 75.4mm (2-3/32) wide x 66.7mm (2-5/8")
deep
Weight:
284 grams (10 oz.)
The model 631L may be rewired in the field. If a line-shorting function is
desired, remove the rear housing and add a jumper wire as indicated
46873-26-00/Rev.1/8-5-04/S.W.

Related product manuals