EasyManua.ls Logo

Astra Steamer - Page 30

Default Icon
34 pages
Print Icon
To Next Page IconTo Next Page
To Next Page IconTo Next Page
To Previous Page IconTo Previous Page
To Previous Page IconTo Previous Page
Loading...
29
W.
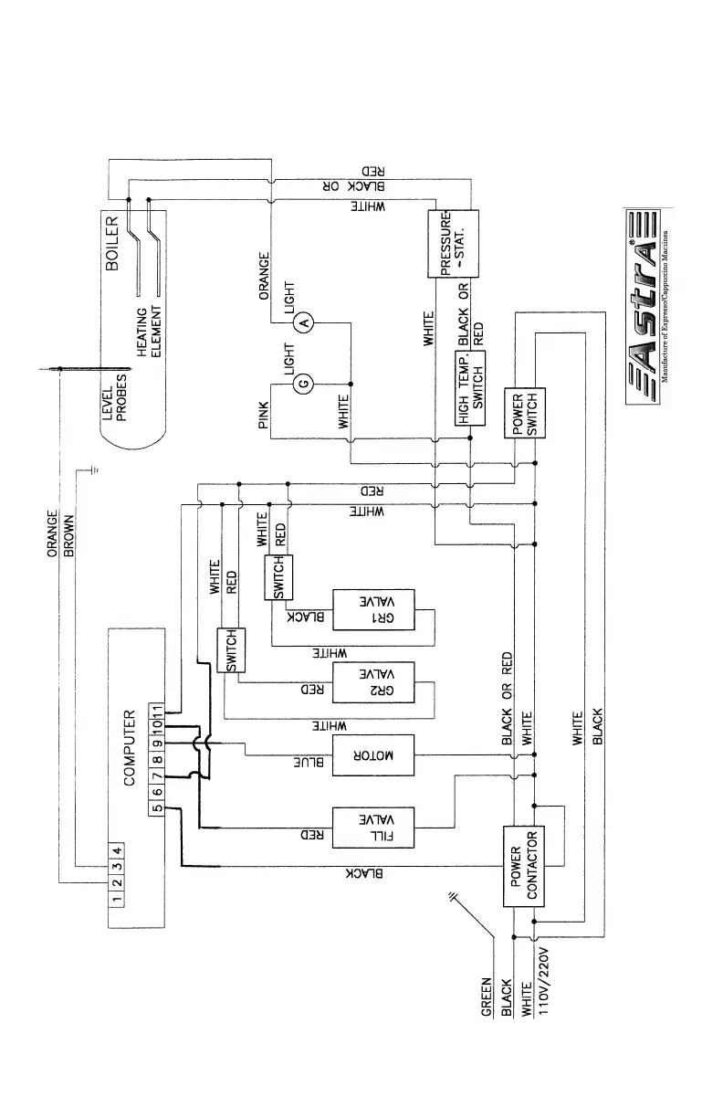
Figure 5 - Semi-Automatic Espresso Machines &
ALL Steamers Wiring Diagram
WIRING DIAGRAM FOR SEMI-AUTOMATIC MACHINE & STEAMER

Related product manuals