EasyManua.ls Logo

Asus P8B-C/4L - P8 B-C Series Block Diagram

Asus P8B-C/4L
184 pages
To Next Page IconTo Next Page
To Next Page IconTo Next Page
To Previous Page IconTo Previous Page
To Previous Page IconTo Previous Page
Loading...
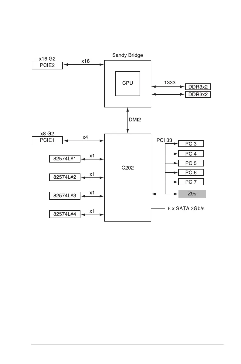
ASUS P8B-C series A-3
A.1 P8B-C series block diagram
P8B-C/4L (R1.0x)

Table of Contents

Related product manuals