EasyManua.ls Logo

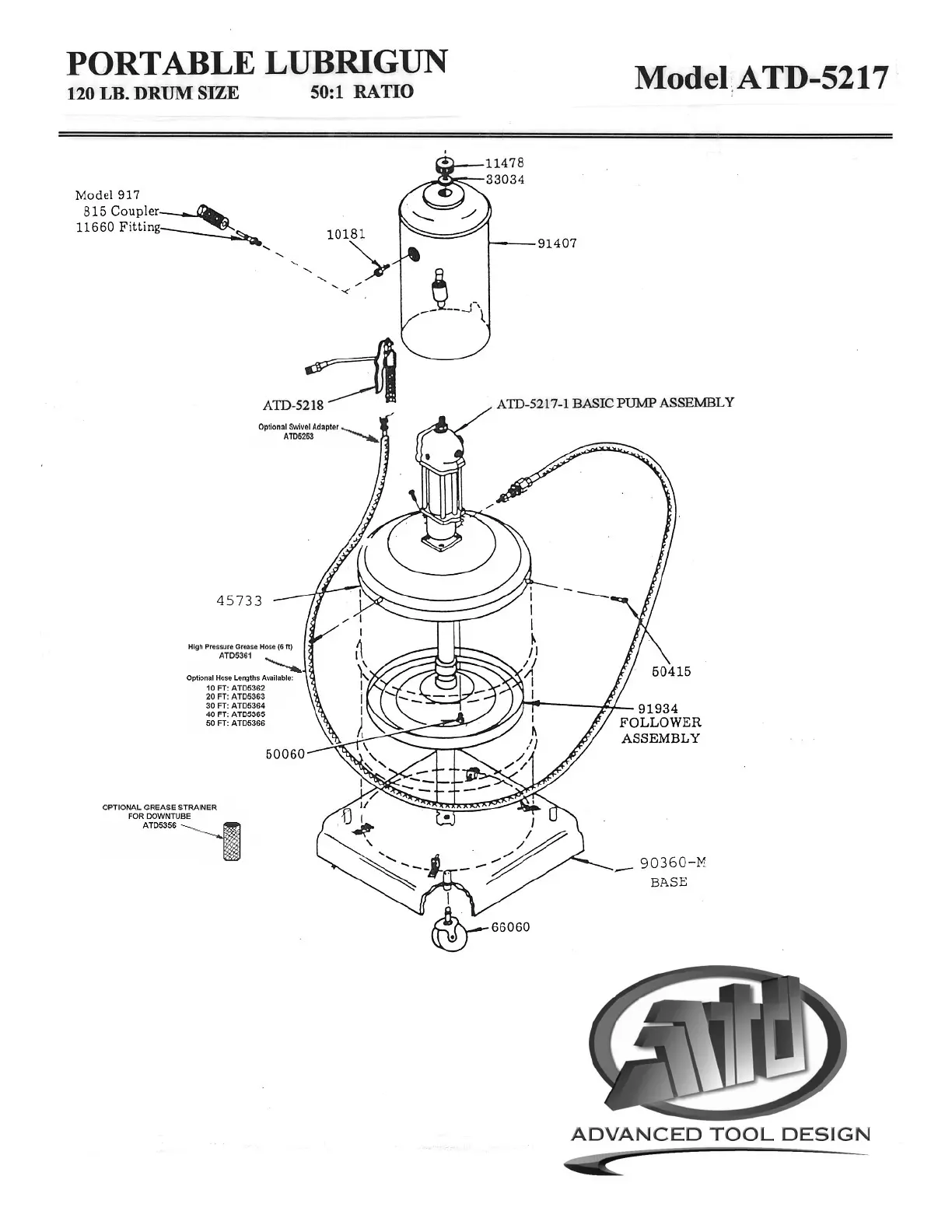
ATD Tools ATD5217 - Lubrigun Assembly Overview; Lubrigun Component Diagram

ATD Tools ATD5217
12 pages
Print Icon
To Next Page IconTo Next Page
To Next Page IconTo Next Page
To Previous Page IconTo Previous Page
To Previous Page IconTo Previous Page
Loading...

Related product manuals