EasyManua.ls Logo

Atlas Copco LF 5

Atlas Copco LF 5
75 pages
To Next Page IconTo Next Page
To Next Page IconTo Next Page
To Previous Page IconTo Previous Page
To Previous Page IconTo Previous Page
Loading...
38 2920 7090 00
Instruction book
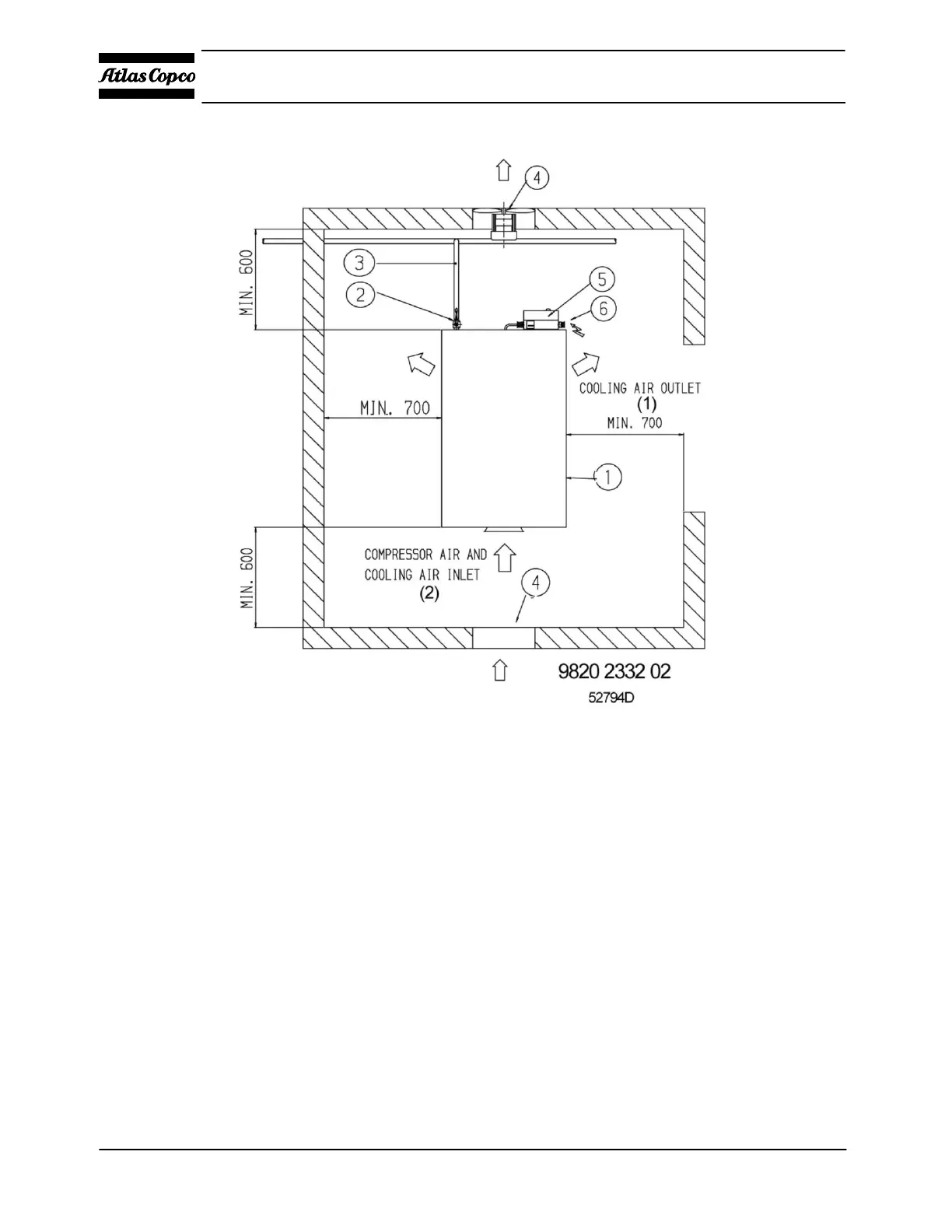
Installation proposal for base-mounted unit with optional silencing hood

Related product manuals