EasyManua.ls Logo

Audiovox FlexVision LCM1331FD - Page 7

Audiovox FlexVision LCM1331FD
15 pages
Print Icon
To Next Page IconTo Next Page
To Next Page IconTo Next Page
To Previous Page IconTo Previous Page
To Previous Page IconTo Previous Page
Loading...
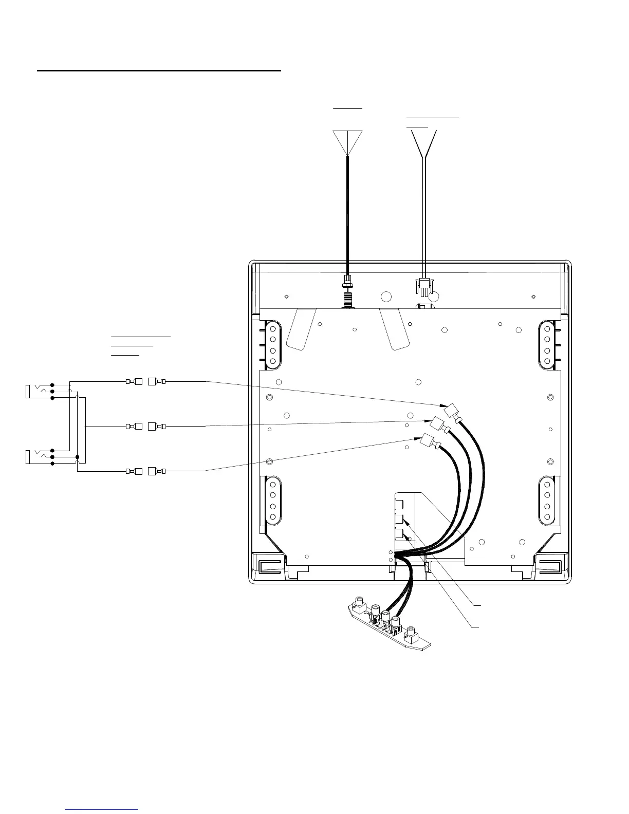
Wiring Diagram Hook Up Procedure
Stereo Headphone
Jack
Spade
Terminals
Gray
(Left+)
Stereo Headphone
Jack
Optional Remote
Headphone
Stations
Spade
Terminals
Spade
Terminals
Black
(Ground)
Green
(Right+)
Red: +12 VDC
(Accessory Cir.)
Black: Ground
Power Harness
Item 1
Power
Connector
(2-pin)
Antenna
TV antenna
(If applicable)
Antenna
Connector
Right Out
(Red)
Left Out
(White)
1) Connect the power harness to the
mating connector on the video pod.
2) Connect the power harness to the
vehicle’s electrical system by tapping
into an accessory hot line.
3) Verify all functions of the system before
mounting of the finished assembly.
FM Modulator (p/n 0190730) and RF
Wireless Headphones (p/n WHPRF01)
could be connected with two dual patch
cords (available in two lengths: 3ft. RCA
patch cord p/n 0892351, and 12ft. RCA
patch cord p.n 0892353) connected to left
and right RCA output jacks shown at right.
Two RCA “Y” adapters are required for
this application (p/n 0892165).
7

Related product manuals