EasyManua.ls Logo

Auto Page RS-855lcd - Channel 6 Timer Control Output; Second Vehicle Security Operation

Default Icon
29 pages
Print Icon
To Next Page IconTo Next Page
To Next Page IconTo Next Page
To Previous Page IconTo Previous Page
To Previous Page IconTo Previous Page
Loading...
14
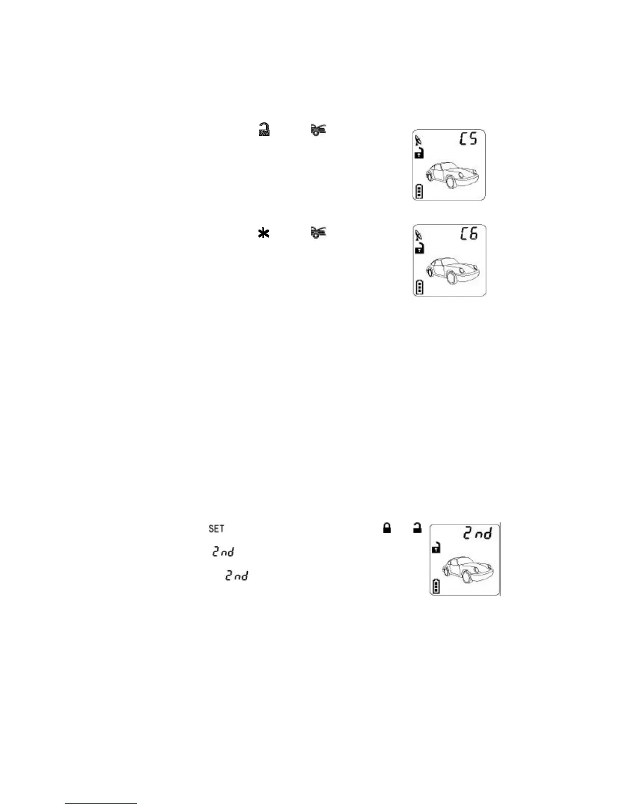
Press the transmitter (5) and (5) buttons at the
same time to active Channel 5 function. Channel 5 is
user-programmable timer output. You may program the
built-in timer to send a ground signal for any time duration
from 1 second to 120 seconds. For instance, this timer
output may be used to turn on the headlight, power window
or sunroof. (Factory defaults setting at momentary output.)
X. CHANNEL 6 TIMER CONTROL OUTPUT
Press the transmitter (6) and (6) buttons at the
same time to active Channel 6 function. Channel 6 is
user-programmable timer output. You may program the
built-in timer to send a ground signal for any time duration
from 1 second to 120 seconds. For instance, this timer
output may be used to turn on the headlight, power window
or sunroof.
(Factory defaults setting at momentary output.)
X. SECOND VEHICLE SECURITY OPERATION:
Your 5-button remote transmitter can be utilized to control a second vehicle
security system, To program the remote control transmitter to a second
vehicle, follow the instructions for Transmitter programming.
Programming the Transmitter to 2
nd
Car
Enter:
1. Turn the ignition key ON 3 times. (Finishing in the ON position)
2. Press valet switch 2 times, holding in on the 2
nd
push, you will hear a
long siren chirp. (Release the valet switch)
3. Press the shift button of the Car 2 transmitter.
** LCD transmitter must be put in 2
nd
car mode to program for 2
nd
car.
(See next page)
4. Press the lock button on the transmitter; you will hear 1 siren chirp.
Turn OFF the ignition switch; you will hear 3 long siren chirps to confirm
programming and exit transmitter programming
** For 2-way LCD Display Transmitter:
2nd
Car Operation:
1. Press first, within 3 seconds press and hold and
buttons at the same time for 2 seconds . Two beeping sound
and the icon will be displayed
on the LCD screen to
indicate the second transceiver pin code is programmed.
2. While the “ icon is displayed on the LCD screen,
you
can remote control
and communicate with a second vehicle
security system. It has two short “bi” sounds
while pressing the
button of the LCD screen transceiver.
Back to 1st Car Operation:

Table of Contents

Related product manuals