EasyManua.ls Logo

AVS Electronics BM 60 M - Page 10

AVS Electronics BM 60 M
24 pages
Print Icon
To Next Page IconTo Next Page
To Next Page IconTo Next Page
To Previous Page IconTo Previous Page
To Previous Page IconTo Previous Page
Loading...
- 10 -
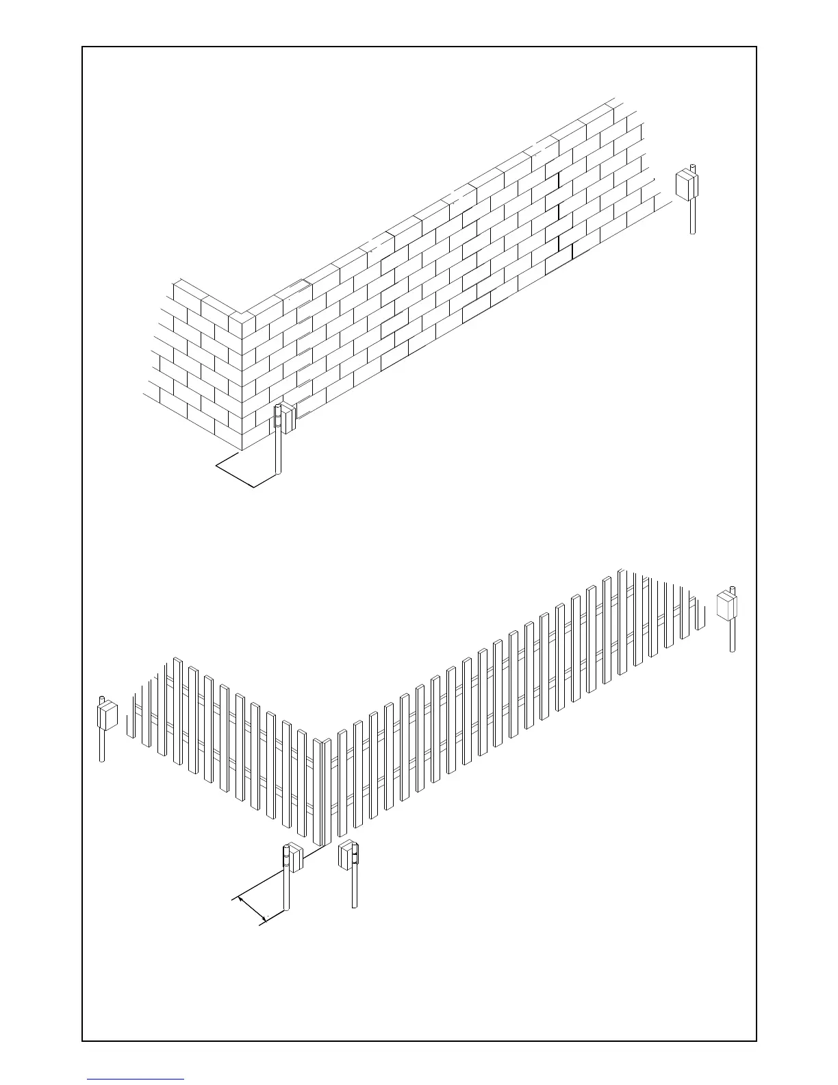
BM60M : 1 meter
BM60M WS : 1 meter
BM120M : 5 meters
BM200M : 5 meters
If a couple must be installed
near a building or a fix fence, a
minimum distance of 1 meter for
BM60M and BM60M WS and 5 meters for
BM120M and BM200M must be kept.
This is required in order to avoid false alarms
caused by reflection of microwave
beam.
BM60M : 0,6 meters
BM60M WS : 0,6 meters
BM120M : 2 meters
BM200M : 2 meters
A corridor large not less than 0,6 meters for BM60M and
BM60M WS and not less than 2 meters for BM120M
and BM200M, must be left free from obstacles
between transmitter and receiver; a clear
visual must always be granted in this
area
The suggested height for the installation is
between 1 and 1,2 meters.