EasyManua.ls Logo

Backyard Discovery 1905016B - Step-by-Step Assembly Instructions

Backyard Discovery 1905016B
57 pages
Print Icon
To Next Page IconTo Next Page
To Next Page IconTo Next Page
To Previous Page IconTo Previous Page
To Previous Page IconTo Previous Page
Loading...
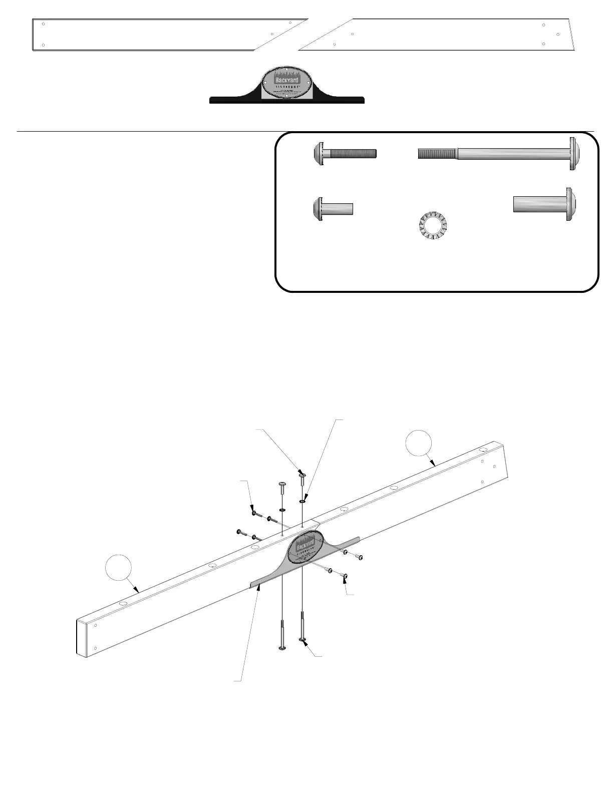
SWING BEAM ASSEMBLY
STEP 1
SB2 - SWING BEAM - W4L06299
(1)
SB1 - SWING BEAM - W4L06298
(1)
- SWING BEAM JOINT BRACKET BLUE - A4M00696
(1)
SWING BEAM JOINT BRACKET BLUE
(1 PLC)
NUT BARREL WH 1/4x7/8
(4 PLCS)
BOLT WH 1/4x1 1/2
(4 PLCS)
BOLT WH 1/4x1-1/2
H100143
(4
)
NUT BARREL WH
1/4x7/8
H100140
(4)
SB2
SB1
BOLT WH 5/16x 4-1/4
(2 PLCS)
WASHER LOCK EXT 12x19
(2 PLCS)
NUT BARREL WH 5/16x1 1/2
(2 PLCS)
BOLT WH 5/16x4-1/4
H100166
(2)
N
UT BARREL WH
5/16x1 1/2
H100006
(2)
WASHER LOCK EXT
12x19
H100031
(2)
21

Related product manuals