EasyManua.ls Logo

Backyard Discovery MALIBU - Page 52

Backyard Discovery MALIBU
161 pages
Print Icon
To Next Page IconTo Next Page
To Next Page IconTo Next Page
To Previous Page IconTo Previous Page
To Previous Page IconTo Previous Page
Loading...
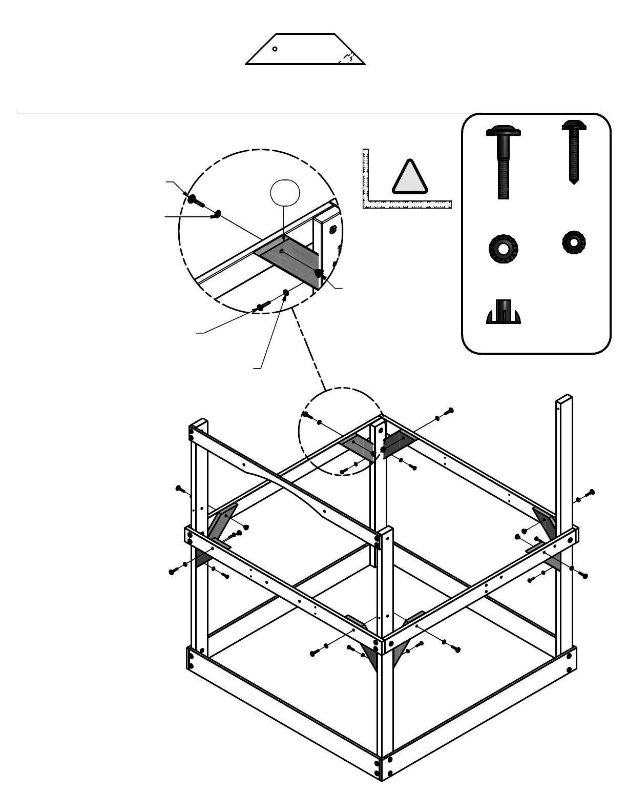
STEP 4
WASHER
LOCK EXT
8x19 BLK
(8)
WASHER LOCK EXT 8x19 BLK
(8 PLCS)
LAG SCREW WH 1/4x1-1/2 BLK
(8 PLCS)
WASHER LOCK EXT 6x15 BLK
(8 PLCS)
BOLT WH 5/16x1 3/4 BLK
(8 PLCS)
T-NUT 5/16 BLK
(8 PLCS)
H20
LAG SCREW
WH 1/4x1-1/2
BLK
(8)
WASHER
LOCK EXT
6x15 BLK
(8)
BOLT WH
5/16x1 3/4
BLK
(8)
T-NUT 5/16
BLK
(8)
H20 - DECK BRACE - W4L06397
1"x3 3/8"x13" (24x86x330)

#
$
%
&
'
(
)
*
+
#
,
#
#
#
$
#
%
#
&
#
'
#
%
#
$
#
#
#
,
+
*
)
(
'
&
%
$
#
#
$
%
&
'
(
)
*
+
#
,
#
#
#$
#
%
#
&
#
'
#
(
#
)
#
*
#
+
$
,
$#
$
$
$
%
$
$
$
#
$
,
#
+
#
*
#
)
#
(
#
'
#
&
#
%
#
$
#
#
#
,
+
*
)
(
'
&
%
$
#
52

Related product manuals