EasyManua.ls Logo

Backyard Products GABLE - 10 x 8 SIDE WALL PANELS INSTALLATION; PARTS REQUIRED FOR 10 x8 SIDE WALL PANELS; INSTALLING 10 x8 SIDE WALL PANELS

Backyard Products GABLE
72 pages
Print Icon
To Next Page IconTo Next Page
To Next Page IconTo Next Page
To Previous Page IconTo Previous Page
To Previous Page IconTo Previous Page
Loading...
38
2" (5 cm)
PARTS REQUIRED:
3/8 x 48 x 72"
(1 x 122 x 183 cm)
48"
(122 cm)
3/4"
(19 mm)
3/4"
(19 mm)
x2
x58
3/4"
GAUGE BLOCK
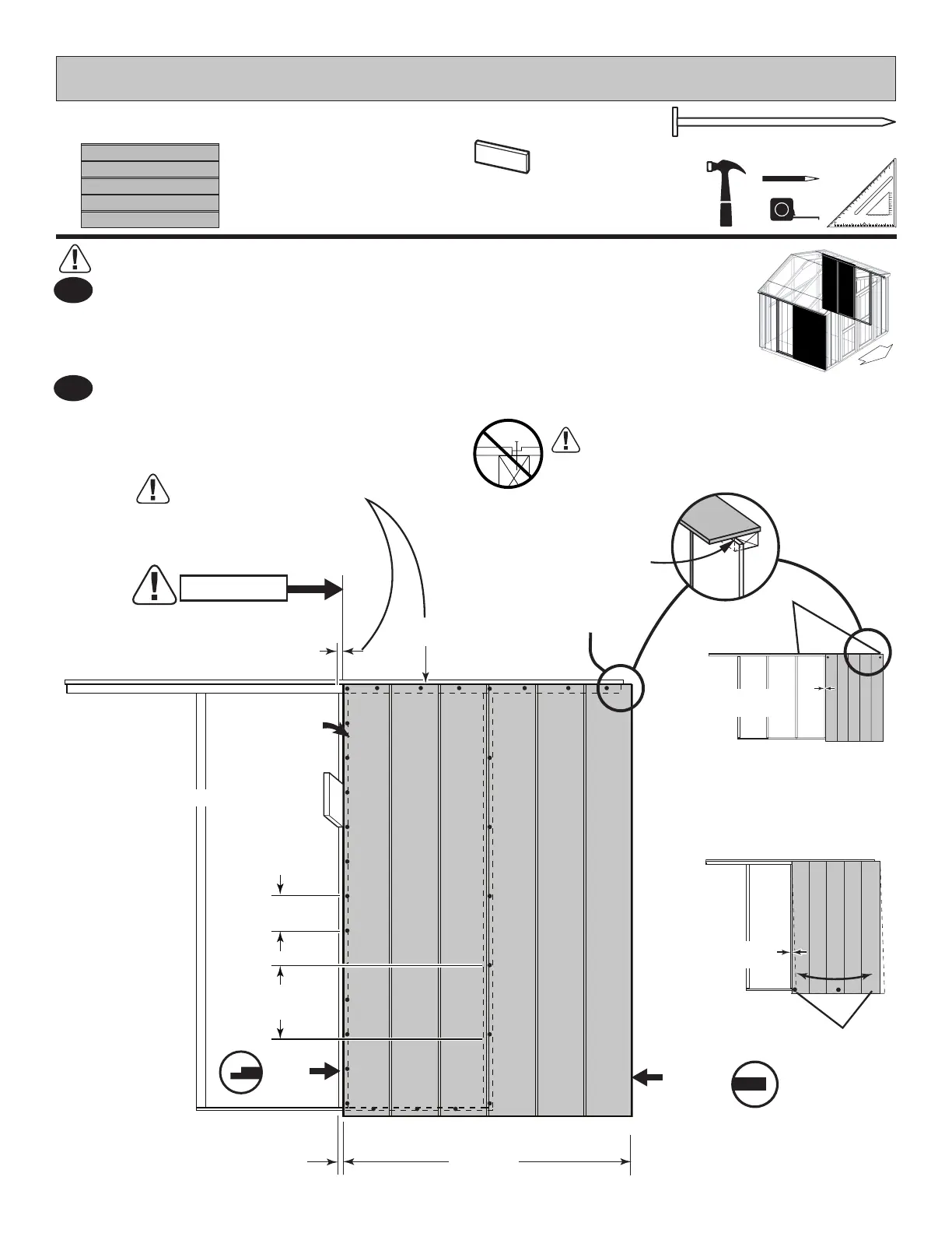
10' x 8' SIDE WALL PANELS
BEGIN HERE
6" (15 cm)
12" (30 cm)
For squareness maintain 3/4" and

DOOR
3/4" Gauge Block
Fig. A
Fig. B
3/4"
(19 mm)
3/4"
(19 mm)
2 Nails
2 Nails
Place (1) 48 x 72" panel onto wall frame with primed side up as shown.
Note the lip and square edges.
Use the gauge block to mark the 3/4" measurement on the wall stud. Locate the panel
ush under the soft panel. Secure panel with (2) 2" nails in the corners (Fig. A).
7
6
Secure the panel with 2" nails spaced 6" apart
on edges and 12" apart inside panel.
Ensure your wall frame is square by installing (1) panel and squaring frame.
Move to the opposite end. Using the long edge of the panel as a lever move the panel side-to-
side until you have a 3/4" measurement on the wall stud. Secure corner with (2) 2" nails.
LIP
EDGE
SQUARE
EDGE
Flush
Flush
Do not nail
in groove.
There will be an
overhang at top.
Primed Side
UP

Related product manuals