EasyManua.ls Logo

Balt Presentation Cart - Grommet and Cap Installation; Important Information and Warranty

Balt Presentation Cart
7 pages
Print Icon
To Next Page IconTo Next Page
To Next Page IconTo Next Page
To Previous Page IconTo Previous Page
To Previous Page IconTo Previous Page
Loading...
6
PresentationCart-01/02/04
The Balt product you have purchased is guaranteed against material and workmanship defects. This
guarantee extends 1 year from date of purchase. Should this product fail to function satisfactorily under normal
use due to defect or imperfection, the defective part or product will be replaced. Damage caused by common
carriers during shipment is not included in this guarantee.
This guarantee sets forth all applicable guarantees and remedies. No other warranty, expressed or
implied shall apply. Failure to follow instructions found in Important Information Section of Owner
Sheet shall void the guarantee. Consequential or incidental damages and or costs are not refundable.
Important
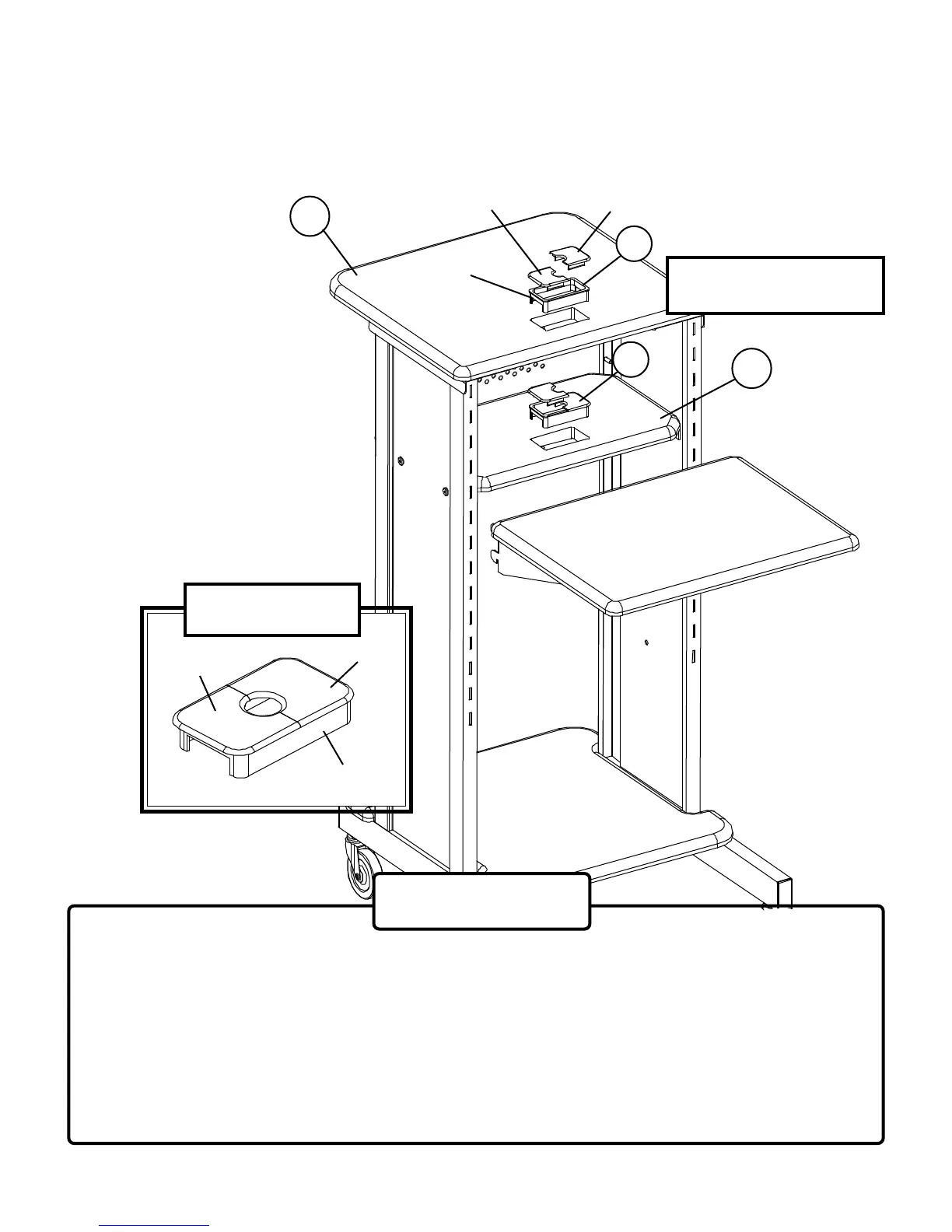
Cap
Grommet(E) installation
Illustration # 5
To install Grommets (E) in LCD Platform (P-3) and Middle Shelf (P-6), separate parts and
press Grommet Sleeve in rectangular openings as shown in illustration # 5.
Snap 2 plastic Caps over top of Sleeve as shown in illustration # 5.
Cap
Sleeve
Grommet (E)
Sleeve
Cap
Cap
E
E
10.)
11.)
P-3
P-6

Related product manuals