EasyManua.ls Logo

Baumatic BR500 - Mounting bracket attachment; Positioning the mounting bracket; Securing the mounting bracket

Baumatic BR500
28 pages
Print Icon
To Next Page IconTo Next Page
To Next Page IconTo Next Page
To Previous Page IconTo Previous Page
To Previous Page IconTo Previous Page
Loading...
a) Undo the screws from the two adjusting bolts that are located on
the top of the appliance door and then remove the mounting bracket
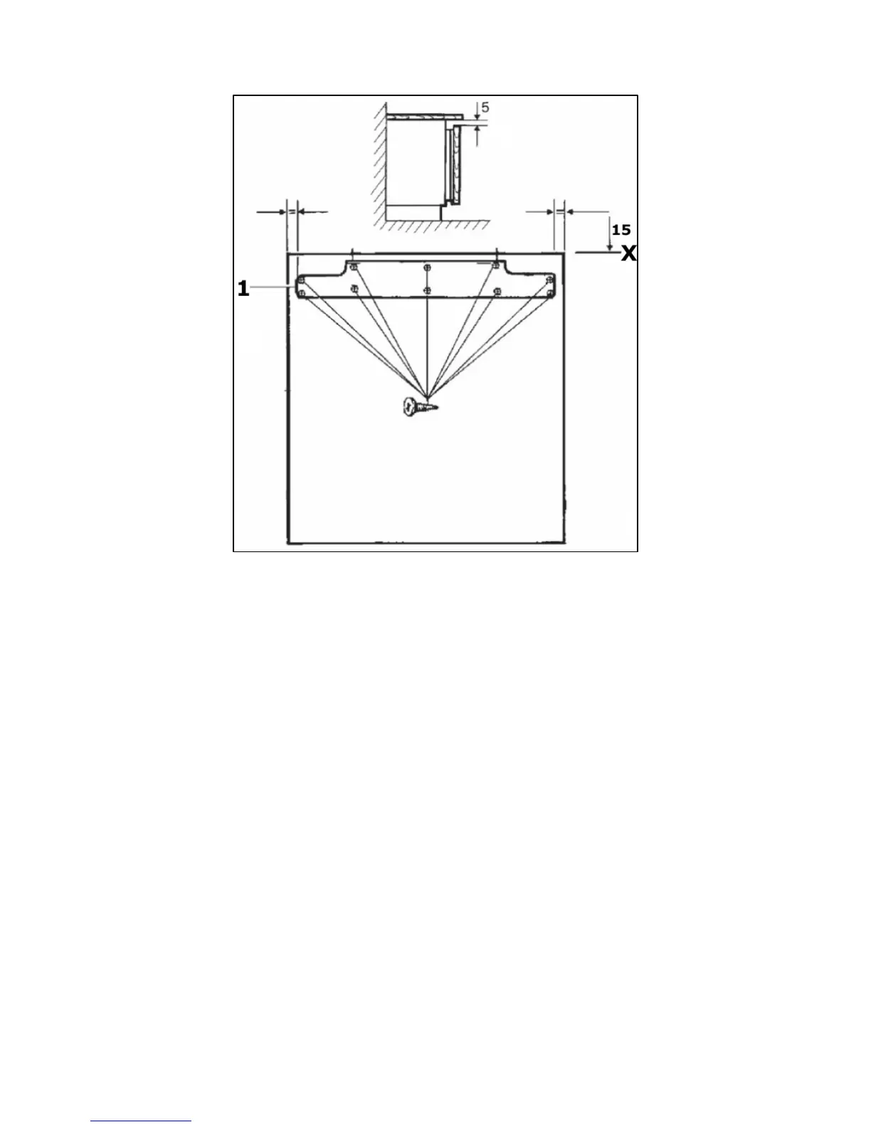
(1).
b) Measure the width of the furniture door, at the halfway point mark a
line vertically down the inner surface of the furniture door. You should
draw the line from the top of the furniture door to approximately
halfway down.
o Place the mounting bracket (1) on the reverse of the furniture
door.
o The middle of the mounting bracket should be positioned on the
line that you have just drawn. Please note the position of the
mounting bracket in the above drawing, to ensure that you have
the mounting bracket the correct way up.
o The top of the mounting bracket should be positioned
approximately 15 mm from the top of the furniture door. This
will allow you a 5 mm gap from the top of the furniture door, to
the underneath of your worktop.
o Fix the mounting bracket to the furniture door using the screws
provided and a Phillips-head screwdriver. These screws should
be fully tightened.
22

Related product manuals