EasyManua.ls Logo

Baumatic BTI975GL - Specifications of Your Cooker Hood

Baumatic BTI975GL
28 pages
Print Icon
To Next Page IconTo Next Page
To Next Page IconTo Next Page
To Previous Page IconTo Previous Page
To Previous Page IconTo Previous Page
Loading...
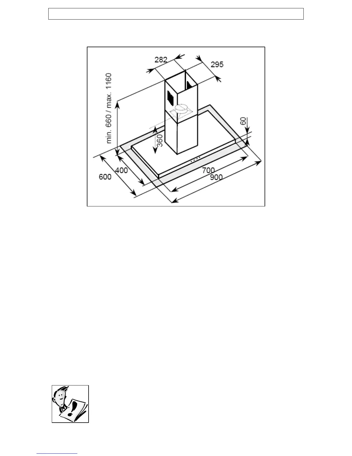
Specifications of your cooker hood
Congratulations on purchasing a Baumatic cooker hood!
PRODUCT DIMENSIONS
Height: 660 mm * – 1160 mm
Width: 900 mm
Depth: 600 mm
DIMENSIONS OF CHIMNEY SECTION
282 mm x 295 mm
o High extraction tangential motor
o Electronic pushbutton control operation
o 3 Speeds
o 2 Metallic grease filters
o 2 Halogen lights
o Extraction capacity: 750 m³/hr
o Optional extra: 1 x SQ1 Carbon filter required for
recirculation mode
* IMPORTANT: Please see the positioning
instructions on pages 17 - 18 to obtain precise
information on the height requirements for this
product.
8

Related product manuals