EasyManua.ls Logo

baxiroca ELFATHERM E25 - Page 9

baxiroca ELFATHERM E25
15 pages
Print Icon
To Next Page IconTo Next Page
To Next Page IconTo Next Page
To Previous Page IconTo Previous Page
To Previous Page IconTo Previous Page
Loading...
9
23
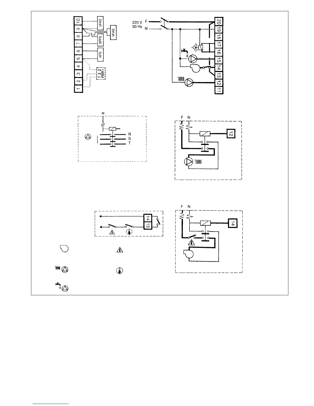
Circulador de la instalación
System pump
Circulateur de l’installation
Umlaufpumpe der Installation
Pompa di circolazione dell’impianto
Circulador da instalação
Regleta / Terminal Strip / Réglette / Klemmleiste / Morsettiera / Régua
Regleta / Terminal Strip / Réglette / Klemmleiste / Morsettiera / Régua
Variante para conexión de circulador de intensidad > 2A
Variation for connection of pump rated > 2A
Variante pour connexion de circulateur d’intensité > 2A
Variante für den Anschluß der Umlafpumpe mit einer Stromstärke von > 2A
Variante per collegamento di pompa di circolazione di intensità > 2A
Variante para a ligação de circulador de intensidade > 2A
Variante para conexión de circulador trifásico
Variation for connection of 3-phase pump
Variante pour connexion de circulateur triphasé
Variante für den Anschluß de dreiphasigen Umlaufpumpe
Variante per collegamento di pompa di circolazione trifase
Variante para ligação de circulador trifásico
Quemador y circulador monofásicos de intensidad < 2A
Single-phase burner and pump rated < 2A
Brûleur et circulateur monophasés < 2A d’intensité
Einphasiger Brenner und Umlaufpumpe mit einer Stromstârke von < 2A
Bruciatore e pompa di circolazione monofase di intensità < 2A
Queimador e circulador monofásico de intensidade < 2A
Al borne 12
To terminal 12
Vers borne 12
Zur Polklemme 12
Al terminale 12
Ao borne 12
Circulador
Pump
Circulateur
Umlaufpumpe
Pompa di circolazione
Circulador
Quemador
Burner
Brûleur
Brenner
Bruciatore
Queimador
Termostato de seguridad
Limit thermostat
Thermostat de sécurité
Sicherheitsthermostat
Termostato di sicurezza
Termostato de segurança
Variante para conexión de quemador de intensidad > 2A
Variation for connection of burner rated > 2A
Variante pour connexion d’un brûleur d’intensité > 2A
Variante für den Anschluß des Brenners mit einer Stromstärke von > 2A
Variante per collegamento di bruciatore di intensità > 2A
Variante para a ligação do queimador de intensidade > 2A
Cerrar
Close
Fermer
Bornes circuito auxiliar termostatos quemador
Burner thermostat auxiliary circuit terminals
Bornes circuit auxiliaire thermostats brûleur
Polklemmen des Hilfskreislaufs des Brenner-
Thermostats
Terminali circuito ausiliare termostati bruciatori
Bornes circuito auxiliar termostatos queimador
Termostato de regulación
Control thermostat
Thermostat de régulation
Thermostat Einstellung
Termostato di regolazione
Termostato de regulação
Schließen
Chiudere
Fechar
Abrir
OPen
Ouvrir
Öffnen
Aprire
Abrir
Circulador de A.C.S.
D.H.W. pump
Circulateur E.C.S.
Warmwasser-Umlaufpumpe
Pompa di circolazione dell’A.C.S.
Circulador A.Q.S.
Nota:
Cuando el circulador que vaya a conectarse al borne 12 sea
alimentado con tensión trifásica deberá sustituirse el relé de la
variante indicada por otro de características adecuadas y realizar
las conexiones eléctricas según se indica.
Cuando el quemador de una etapa de potencia sea trifásico
o disponga de un circuito auxiliar de termostatos se debe de
conectar en serie con los bornes 13 y 14 en la forma que se indica,
y por supuesto, prescindir del puente 20-13.
Note:
When the pump that is going to be wired to terminal 12 is fed with
3-phase voltage, the relay of the variation indicated should be
replaced with another of suitable characteristics and the electrical
connections made as shown.
When the single-stage burner is 3-phase type or has an auxiliary
circuit of thermostats, it must be connected in series to terminals
13 and 14 in the way shown and the course, jumper across 20-
13 be removed.
Note:
Lorsque le circulateur qui doit être raccordé à la borne 12 est
alimenté en courant triphasé, il convient de remplacer le relais
de la variante indiquée par un autre ayant des caractéristiques
appropriées, et effectuer les connexions électriques comme
indiqué.
Lorsque le brûleur à une allure est en triphasé, ouy comporte
un circuit auxiliaire de thermostats, il doit être connecté en série
aux bornes 13 et 14 de la manière indiquée, et en supprimant
le pont 20-13.
Anmerkung:
Wenn die Umlaufpumpe , die an Polklemme 12 angeschlossen
werden soll, mit dreiphasiger Spannung gespeist wird, muß das
angegebene Relais der Variante durch ein anderes mit geeigneten
Charakteristiken versehenes Relais ausgetauscht werden.
Die elektrischen Anschlüsse ssen wie auf der Abbildung
vorgenommen werden.
Wenn der einstufige Brenner dreiphasig ist oder über einen
Hilfskreislauf des Thermostats verfügt, muß dieser mit den
Polklemmen 13 und 14 in Serie angeschlosen werden, so wie es
angegeben ist und natürlich ohne Brücke 20-13.
Nota:
Quando la pompa di circolazione che sarà collegata al terminale
12 sia alimentata con tensione trifase, si dovrà sostituire il relè
della variante indicata con un altro di caratteristiche adeguate e
realizzare i collegamenti elettrici come indicato.
Quando il bruciatore a uno stadio di potenza sia trifase o disponga
di un circuito ausiliare dei termostati si deve collegare in serie con i
terminali 13 e 14 nella forma indicata e, naturalmente, prescindere
dal ponte 20-13.
Nota:
Quando o circulador, que se vai ligar no borne 12, fôr alimentado
com corrente trifásica, deverá substituir-se o reda variante
indicada por outro de características adecuadas e realizar as
ligações eléctricas conforme se indica.
Quando o queimador de um escalão de potência fôr trifásico ou
disponha de um circuito auxiliar de termostatos deve ligar-se em
serie com os bornes 13 e 14 na forma que se indica e, eliminar
a ponte 20-13.
Relé / Relay / Relai
Relais / Relè / Relé
Relé / Relay / Relai
Relais / Relè / Relé
Relé / Relay / Relai
Relais / Relè / Relé