EasyManua.ls Logo

BBE 822 - Page 10

BBE 822
19 pages
Print Icon
To Next Page IconTo Next Page
To Next Page IconTo Next Page
To Previous Page IconTo Previous Page
To Previous Page IconTo Previous Page
Loading...
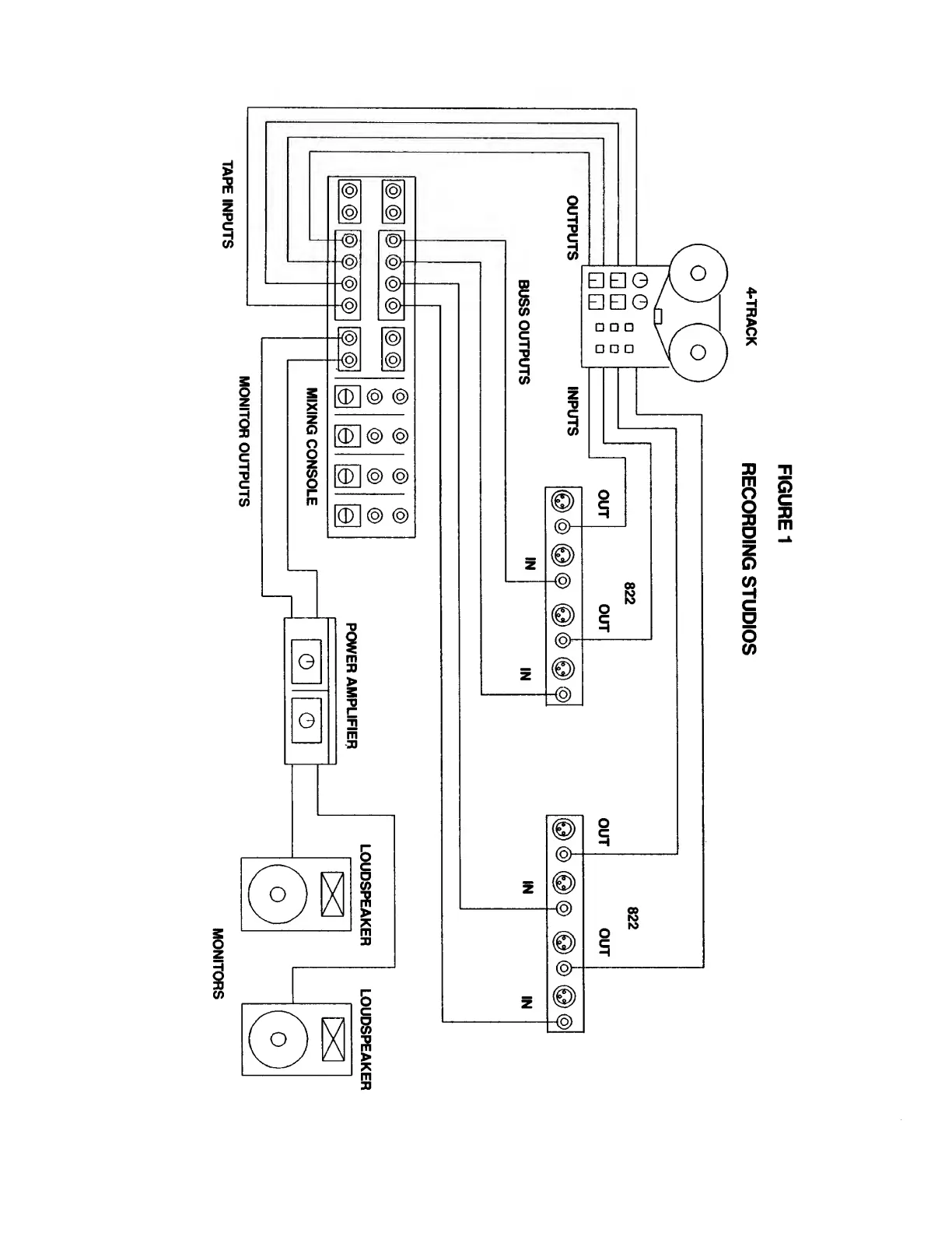
TAPE
INPUTS
4-TRACK
RECORDING
STUDIOS

Related product manuals