EasyManua.ls Logo

BBE 822A - Page 13

BBE 822A
16 pages
Print Icon
To Next Page IconTo Next Page
To Next Page IconTo Next Page
To Previous Page IconTo Previous Page
To Previous Page IconTo Previous Page
Loading...
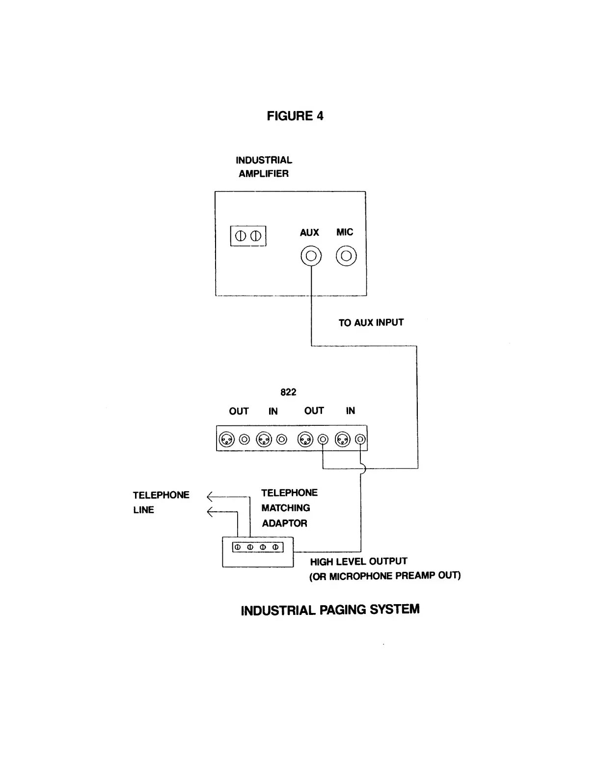
FIGURE
4
INDUSTRIAL
AMPLIFIER
(OR
MICROPHONE
PREAMP
OUT)
INDUSTRIAL
PAGING
SYSTEM

Related product manuals