EasyManua.ls Logo

Beaumark 14721 - Gas and Electrical Outlet Placement

Beaumark 14721
52 pages
Print Icon
To Next Page IconTo Next Page
To Next Page IconTo Next Page
To Previous Page IconTo Previous Page
To Previous Page IconTo Previous Page
Loading...
34
Installation Instructions
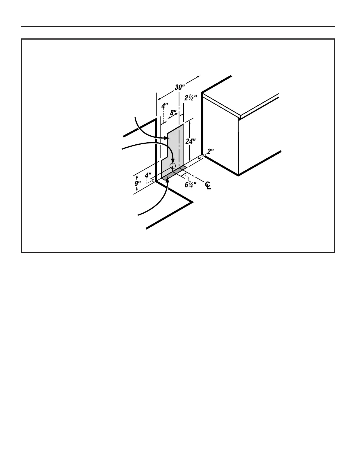
GAS PIPE AND ELECTRICAL OUTLET LOCATIONS
This area allows for flush range
installation with through-the-wall
connection of pipe stub/shut-off
valve and rear wall 120V outlet.
This area allows for flush range installation
with through-the-floor connection of pipe
stub/shut-off valve.
Shortest connection from hard
pipe stub location to range
hookup.