EasyManua.ls Logo

Beghelli SanificaAria 30 - Wall and Ceiling Mounting

Beghelli SanificaAria 30
12 pages
Print Icon
To Next Page IconTo Next Page
To Next Page IconTo Next Page
To Previous Page IconTo Previous Page
To Previous Page IconTo Previous Page
Loading...
4
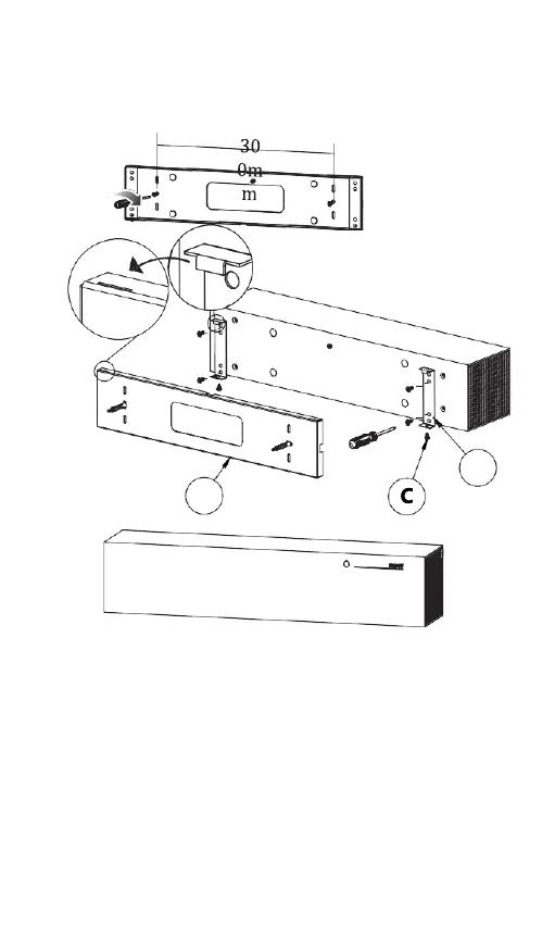
WALL AND CEILING MOUNTING
- Fix the bracket (A) to the wall (centre to centre
distance:300mm)
- Attach the 2 riders (B) to the device
- Anchor rider B onto the bracket (A) (see detail) and fix
it in screws (C)
A
B
B
A