EasyManua.ls Logo

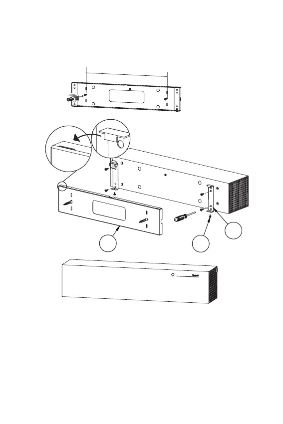
Beghelli SanificaAria - Wall and Ceiling Mounting

Beghelli SanificaAria
Print Icon
To Next Page IconTo Next Page
To Next Page IconTo Next Page
To Previous Page IconTo Previous Page
To Previous Page IconTo Previous Page
Loading...
WALL AND CEILING MOUNTING
A
B
C
A
300mm
B

Related product manuals