EasyManua.ls Logo

Beko ASD2542VX - Control Panel and Functions; Wireless Connectivity Setup; Freezing and Alert Features; Temperature and Special Mode Settings

Beko ASD2542VX
36 pages
Print Icon
To Next Page IconTo Next Page
To Next Page IconTo Next Page
To Previous Page IconTo Previous Page
To Previous Page IconTo Previous Page
Loading...
EN / 19
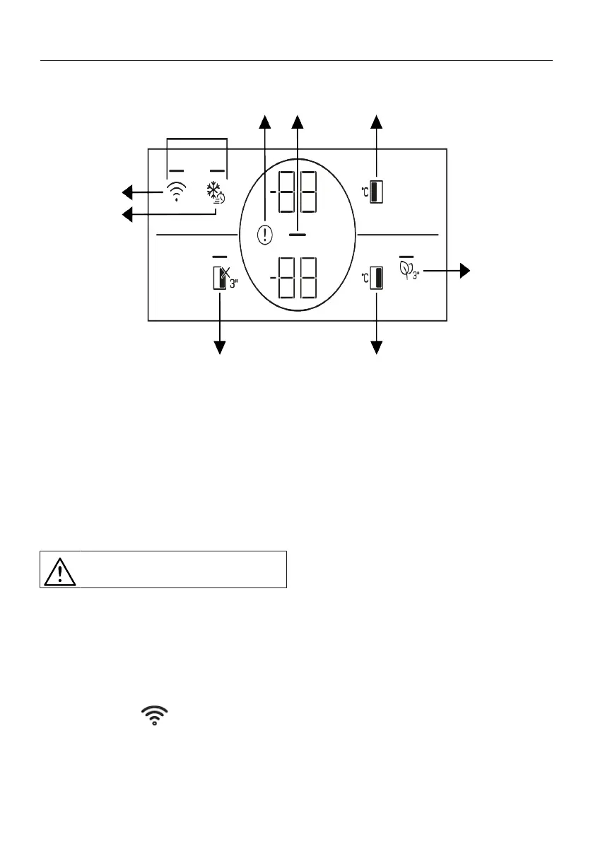
7 Control Panel of the Product
1
2
3
4
5
6
7
8
9
1 *Wireless 2 Quick Freezing
3 High Temperature/Fault Alert 4 Energy Saving (Display Off)
5 The Freezer Compartment Temperat-
ure Setting
6 Vacation Function
7 Cooler Compartment Temperature
Setting
8 *Key for Resetting Wireless Connec-
tion Settings
9 *Deodoriser Module Key
Read the “Safety Instructions” sec-
tion first.
*Optional: Shown functions are optional,
there may be differences of shape and loc-
ation in functions found on your appliance’s
indicator panel.
Auditory and visual functions on the indic-
ator panel will assist you in using the refri-
gerator.
1. *Wireless Key
You can use this key to make a wireless
connection with your product via Home-
Whiz mobile app.
When the key is pressed for a long period
(3 seconds), the wireless connection sym-
bol on the display/screen flashes slowly (at
0.5 second intervals). The home network is
introduced to the product firstly in this way.
After achieving wireless connection with
the product, wireless connection symbol il-
luminates continuously.
After completing the initial installation, you
can activate/deactivate it for pressing this
key. Wireless connection symbol illumin-
ates quickly (at 0.2 seconds intervals) until
the connection is made. When the connec-
tion is active, the wireless network symbol
will illuminate continuously.