EasyManua.ls Logo

Beko B3WT5841WS2 - Tips for Energy and Water Saving; Loading the Laundry; Correct Load Capacity; Using Detergent and Softener

Beko B3WT5841WS2
44 pages
Print Icon
To Next Page IconTo Next Page
To Next Page IconTo Next Page
To Previous Page IconTo Previous Page
To Previous Page IconTo Previous Page
Loading...
EN / 16
Wash trousers and delicate laundry turned
inside out.
Laundry that are subjected to materials
such as flour, lime dust, milk powder, etc.
intensely must be shaken off before pla-
cing into the product. Such dusts and
powders on the laundry may build up on
the inner parts of the product in time and
can cause damage.
5.3 Tips for Energy and Water Sav-
ing
Following information will help you use the
product in an ecological and energy/water-
efficient manner.
Operate the product in the highest load
capacity allowed for the programme you
have selected, but do not overload. See
"Programme and consumption table"
Observe the temperature instructions on
the detergent packaging.
Wash slightly soiled laundry at low temper-
atures.
Use faster programmes for small quantit-
ies of lightly soiled laundry.
Do not use prewash and high temperat-
ures for laundry that is not heavily soiled or
stained.
If you plan to dry your laundry in a dryer,
select the highest spin speed recommen-
ded during washing process.
Do not use more detergent than the re-
commended amount on the detergent
packaging.
5.4 Loading the Laundry
a. Open the loading door.
b. Put the laundry items into the product in
a loose manner.
c. Push the loading door to close until you
hear a locking sound. Ensure that no
items are caught in the door. The loading
door is locked while a programme is run-
ning. The door lock will open once the
programme is completed. Then you can
open the loading door. If the door does
not open, apply the solutions provided for
“Loading door cannot be opened” error in
the Troubleshooting section.
5.5 Correct Load Capacity
The maximum load capacity depends on the
type of laundry, the degree of soiling and the
desired washing programme.
The product automatically adjusts the water
amount according to the weight of the laun-
dry put inside it.
Follow the instructions in “Pro-
gramme and consumption table”.
When the appliances is overloaded
product’s washing performance will
drop. Moreover, noise and vibration
problems may occur.
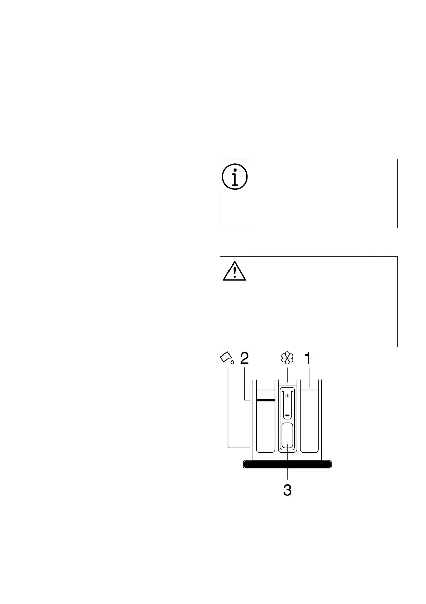
5.6 Using Detergent and Softener
WARNING
Read the manufacturer instructions
on the package while using deter-
gents, softeners, starch, bleach and
decolourants, anti-limescale and fol-
low the dosage information
provided. Use a measuring cup, if
any.
The detergent drawer comprises of three
compartments:
(1) for prewash,
(2) for main washing,
(3) for softener,

Table of Contents

Related product manuals