EasyManua.ls Logo

Belimo LF24-S - Page 56

Belimo LF24-S
68 pages
Print Icon
To Next Page IconTo Next Page
To Next Page IconTo Next Page
To Previous Page IconTo Previous Page
To Previous Page IconTo Previous Page
Loading...
56
V4. 12. 2010
.
Subject to modification
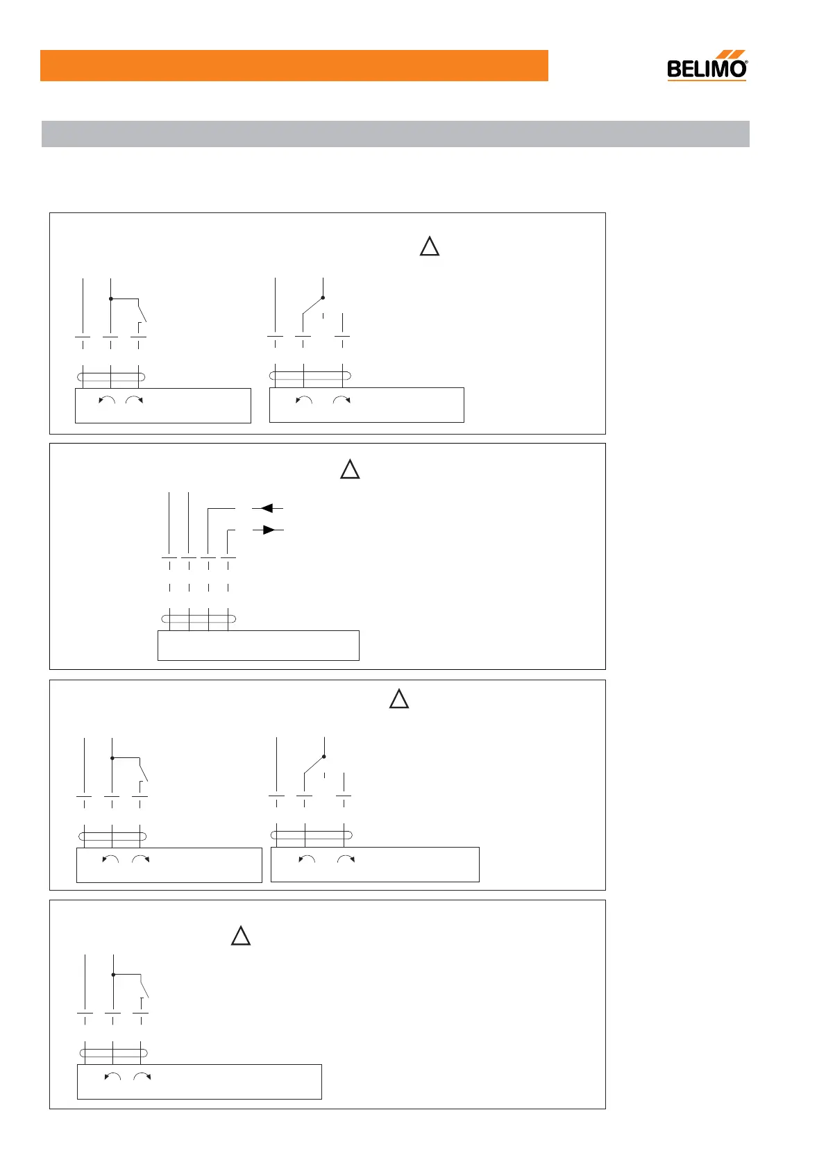
Open/Close control 3-point control
0
-
T
+
~
-
T
+
~
-
T
+
~
123 12 3
AC/DC 24V
AC/DC 24V
CMU24(-T)
CMU24-F8(-F10)
CMU24(-T)
CMU24-F8(-F10)
Open/Close control 3-point control
12 3
23
0
1
AC 100...240V
CMU230
CMU230-F8(-F10)
N
L
AC 100...240V
N
L
CMU230
CMU230-F8(-F10)
Open/Close control
123
AC 230V
CMU230-RES
CMU230-F8 (-F10)-RES
N
L
Modulating
DC 2(0)…10V
DC 2…1V
Y
CMU24-SR-R
5321
U
AC/DC 24V
-
T
~
+
Y
U
OGWH
RD
BK
Wiring diagrams : CMU.. series actuators
Connection via safety
isolated transformer
Connection via safety
isolated transformer
Connection via safety
isolated transformer
Connection via safety
isolated transformer
Notes:
ΓParallel connection of several actuators is possible.
ΓPower consumption must be observed.
!
!
!
!
Wiring diagrams — General Damper Actuator

Related product manuals