EasyManua.ls Logo

BEMIS 4D7 800 - Fan Speed

BEMIS 4D7 800
15 pages
Print Icon
To Next Page IconTo Next Page
To Next Page IconTo Next Page
To Previous Page IconTo Previous Page
To Previous Page IconTo Previous Page
Loading...
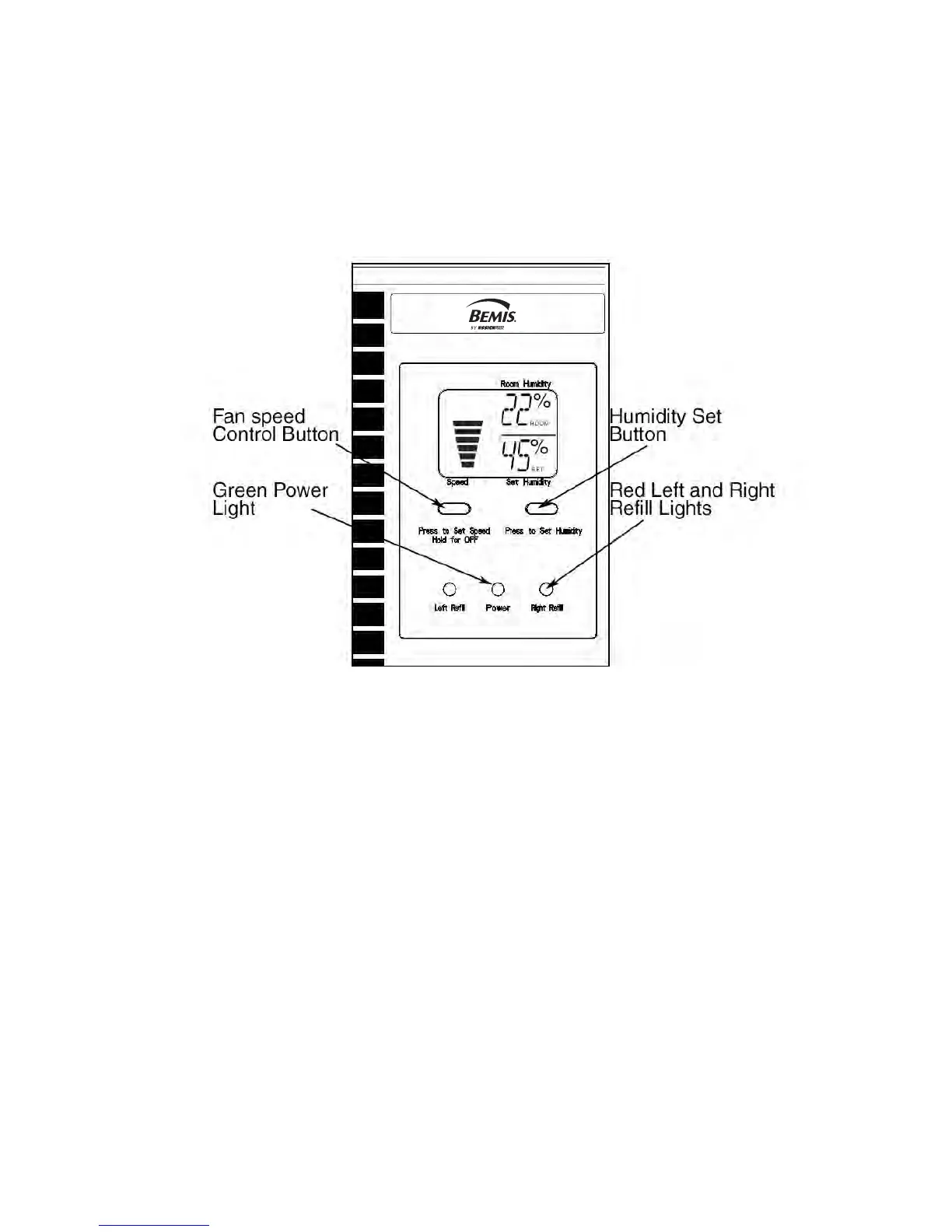
CONTROLS (Model 4D7 800, 4D6 800 Digital Humidistat)
16) Models 4D6 800 and 4D7 800 are equipped with a multi-speed fan con-
trol switch. Use the lower settings for quiet operation, and the higher set-
tings for maximum output. These models have a digital humidistat with LCD
display. The room’s Relative Humidity (% RH) is displayed at the top and
the desired humidity level is displayed at the bottom. The desired humidity
level can be manually adjusted between 30 and 90%, using the “Set
Humidity” button. 45% RH is the suggested initial setting.
17) The automatic humidistat will turn the humidifier ON when the relative
humidity in your home is below the humidistat setting and will turn the
humidifier OFF when the relative humidity in the room exceeds the
humidistat setting by 6% R.H. This will reduce rapid cycling. When the
humidifier is running, you will feel cool, invisible, humid air exiting from
the outlet grill.
18) When first plugged in, the display will show the current % Room Humidity
and will default to 45% Set Humidity. If there is no water in the cabinet, the
red “Refill” indicators will be lit and the fan motor will not run. Fill both
water bottles, following the “Filling Water Bottles” instructions. When the
bottles have been filled, the LCD display will initiate with a segment display
test, the Room and Set humidity % will be displayed, and the fan speed
will be shown as OFF.
FAN SPEED
19) The fan speed can be set to the desired airflow level by pressing the “Set
Speed”, (left), button. The Green power indicator will be lit. To increase fan
speed, repeatedly press the “Set Speed” button. A bar segment indicator at
the left side of the display will indicate increasing fan speed. After the
HIGH fan speed has been reached, the next press of the button will return
back to the LOWEST fan speed. To turn the humidifier OFF, press AND
HOLD the “Set Speed” button down for two seconds.

Related product manuals