EasyManua.ls Logo

Benchmark 60072 - Page 5

Benchmark 60072
8 pages
Print Icon
To Next Page IconTo Next Page
To Next Page IconTo Next Page
To Previous Page IconTo Previous Page
To Previous Page IconTo Previous Page
Loading...
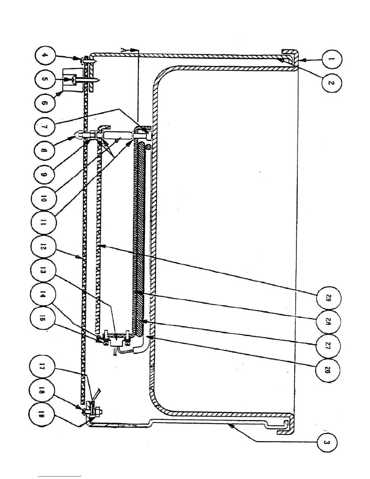
ASSEMBLY

Related product manuals