EasyManua.ls Logo

Bering BEXP11i - Page 220

Bering BEXP11i
388 pages
Print Icon
To Next Page IconTo Next Page
To Next Page IconTo Next Page
To Previous Page IconTo Previous Page
To Previous Page IconTo Previous Page
Loading...
216
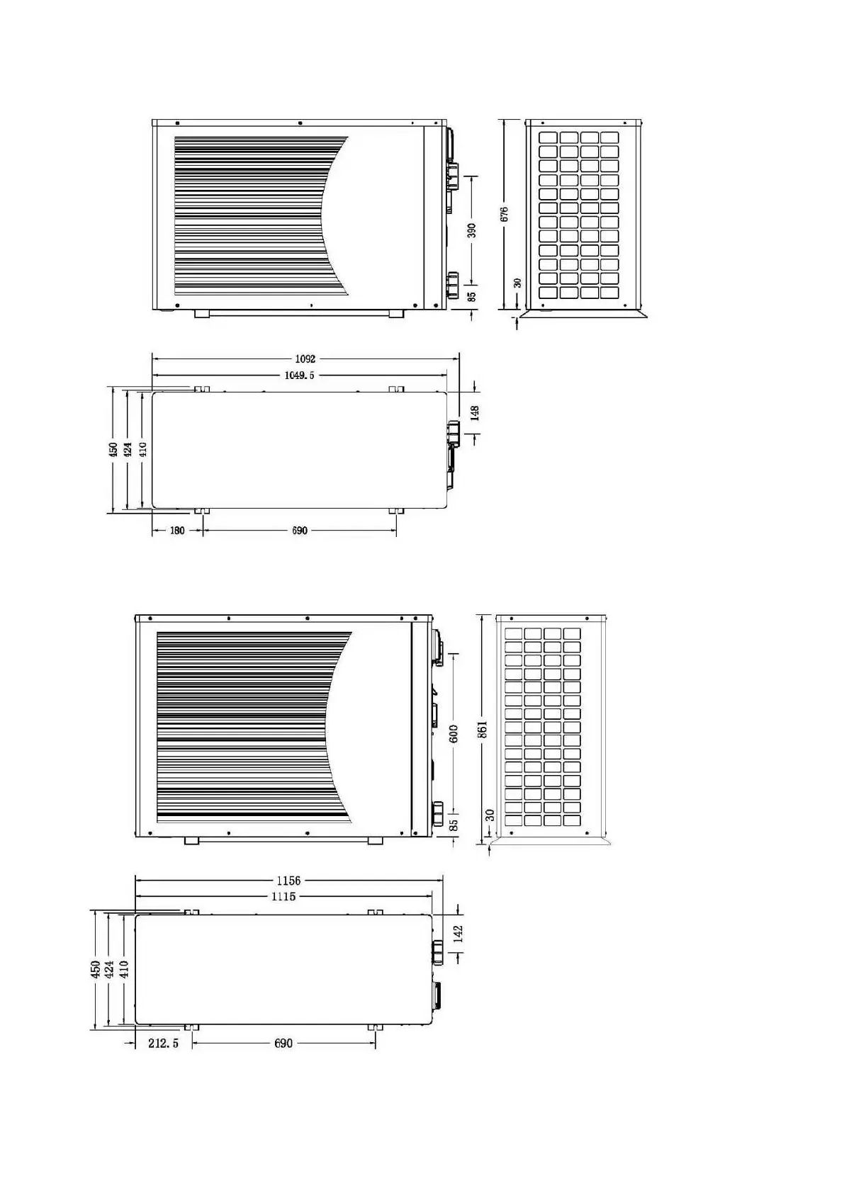
BEXP11i/BEXP14i/BEXP16i/BEXP18i
BEXP20i

Table of Contents

Related product manuals