EasyManua.ls Logo

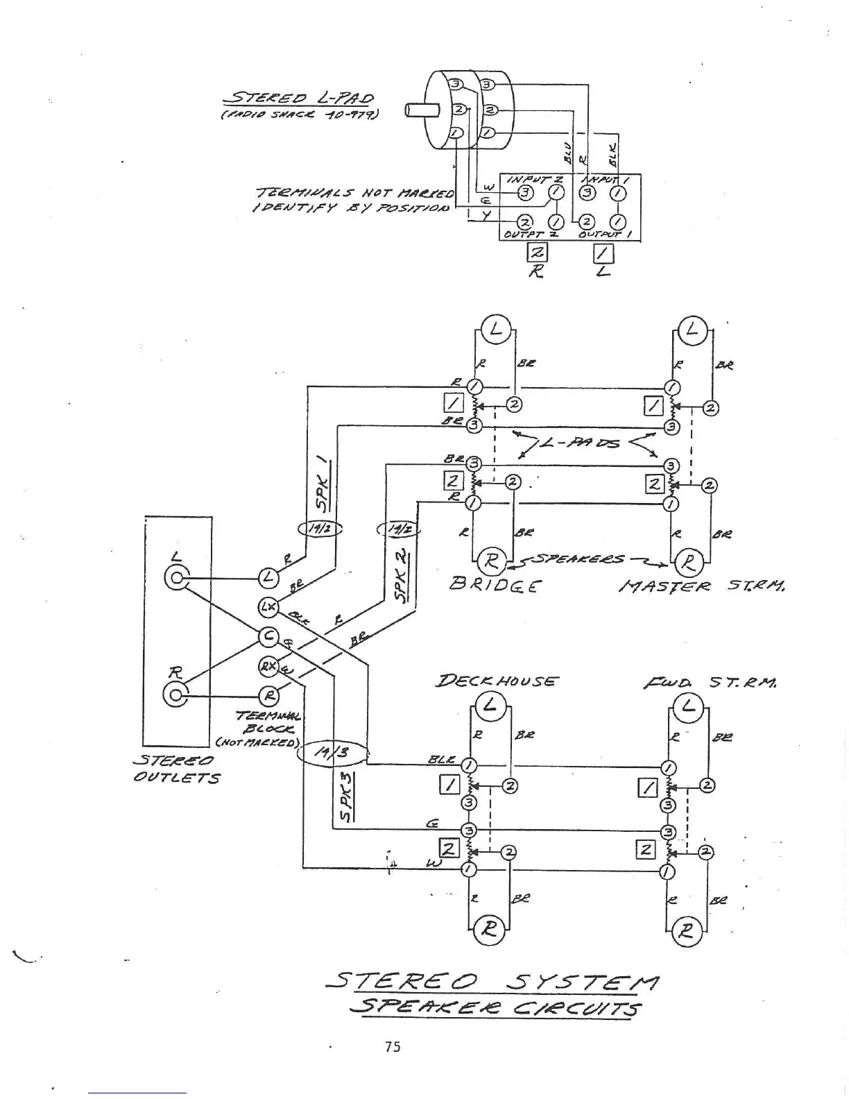
Bertram 46 - Stereo System Speaker Circuits; Stereo Speaker Circuit Layout

Default Icon
136 pages
Print Icon
To Next Page IconTo Next Page
To Next Page IconTo Next Page
To Previous Page IconTo Previous Page
To Previous Page IconTo Previous Page
Loading...

Table of Contents

Related product manuals