EasyManua.ls Logo

Best 48H - Mortising and Drilling Holes for Lock Installation; Installing the Mortise Case; Installing Trim for 48 H & 49 H Locks; Installing the Lock Core

Best 48H
2 pages
Print Icon
To Previous Page IconTo Previous Page
To Previous Page IconTo Previous Page
Loading...
BEST ACCESS SYSTEMS
a Division of Stanley Security Solutions, Inc
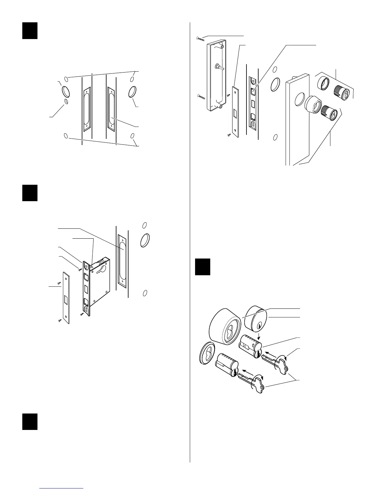
4 Mortise and drill holes
1 Mortise the door for the lock case and faceplate.
Note: Check the lock for function before drilling.
2 Drill only those holes required for the lock function and trim. See
Installation Specifications for hole requirements in Template H17.
5 Install mortise case
1 Remove the faceplate from the lock.
2 Loosen the bevel adjusting screws on the top and bottom of the lock
case and adjust the bevel of the armored front to match the door
bevel. Retighten the screws.
For ‘R’ function only:
Check the cylinder and lock for proper operation.
Caution: If the handing of the ‘R’ turn knob is incorrect, you can
be locked in.
3 Install the lock into the mortise cavity.
4 Secure the lock case with the case mounting screws.
6 Install trim
To install 48H trim:
1 Install cylinder(s) and ring(s) and fasten with cylinder clamp screw(s).
2 Install thumb turn if needed.
3 Reinstall the faceplate.
4 Check the lock for proper operation.
To install 49H trim:
1 Position inside and outside escutcheons opposite each other and
screw them loosely in place.
2 Put the high security cylinder(s) and ring(s) into the cylinder hole(s).
Thread the cylinder(s) into the case until the cylinder head touches
the inside rim of the ring.
3 Secure the cylinder(s) with the cylinder clamp screw(s).
4 Tighten the through-bolts.
5 Reinstall the faceplate.
7 Install core
For 5C cores only:
Slide the cylinder face down over the 5C core.
For all cores:
1 Put the control key into the core (or cylinder face) and turn the key
15 degrees clockwise.
2 Adjust the throw pins if needed, then put the core (and cylinder face)
into the cylinder with the control key.
3 Turn the key 15 degrees counterclockwise and remove the key.
Note: Follow these steps to remove the core also.
Figure 5 Mortising and drilling holes
Figure 6 Installing the mortise case
Escutcheon
hole
Outside cylinder
hole
Mortise for lock
case & faceplate
Escutcheon
hole
Inside cylinder
hole
‘K’ function
turn knob hole
Inside Outside
Mortise cavity
Bevel adjusting screw
Armored front
Case mounting
screws
Faceplate
Figure 7 Installing 48H or 49H trim
Figure 8 Installing the core
Through-bolts
Faceplate
Cylinder clamp
screw (inside)
Standard cylinder
& ring (48H)
High-security
cylinder, ring, &
escutcheon (49H)
High security cylinder
Cylinder face
5C core
Turn 15 degrees
Control key

Related product manuals