EasyManua.ls Logo

BIO UV UV30 - Vista Desglosada

Default Icon
84 pages
Print Icon
To Next Page IconTo Next Page
To Next Page IconTo Next Page
To Previous Page IconTo Previous Page
To Previous Page IconTo Previous Page
Loading...
BIO-UV
Copyright BIO-UV 03/07/08
6
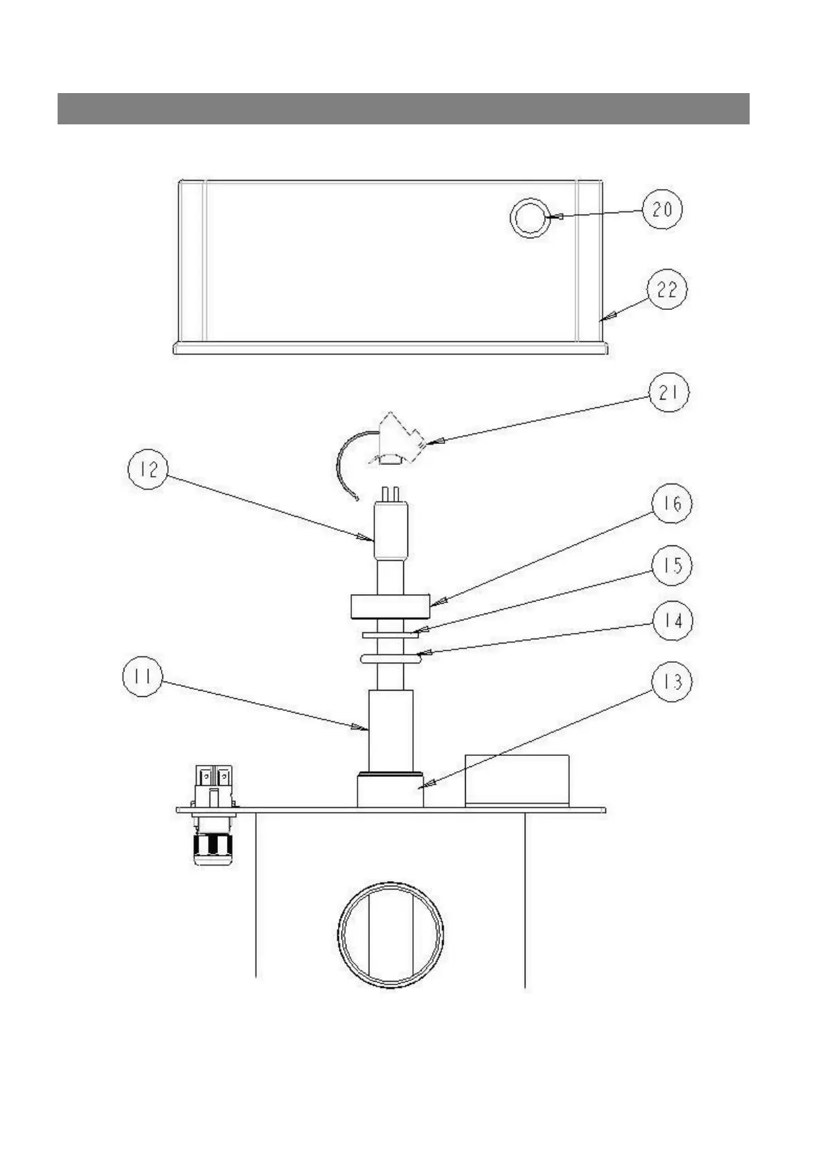
Esterilizador – Vista Desglosada

Related product manuals