EasyManua.ls Logo

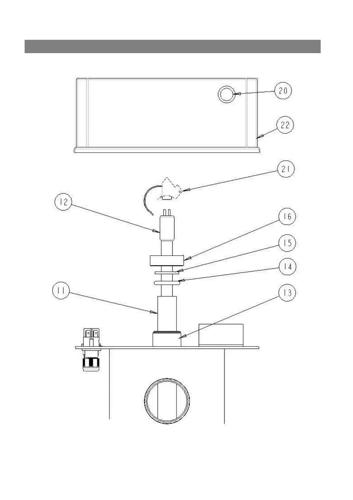
BIO UV UV30 - Sterilizer Exploded View

Default Icon
84 pages
Print Icon
To Next Page IconTo Next Page
To Next Page IconTo Next Page
To Previous Page IconTo Previous Page
To Previous Page IconTo Previous Page
Loading...
BIO-UV
Copyright BIO-UV 03/07/08
5
Sterilizer – Exploded view

Related product manuals