EasyManua.ls Logo

BIO UV UV30 - Page 50

Default Icon
84 pages
Print Icon
To Next Page IconTo Next Page
To Next Page IconTo Next Page
To Previous Page IconTo Previous Page
To Previous Page IconTo Previous Page
Loading...
BIO-UV
Copyright BIO-UV 03/07/08
5
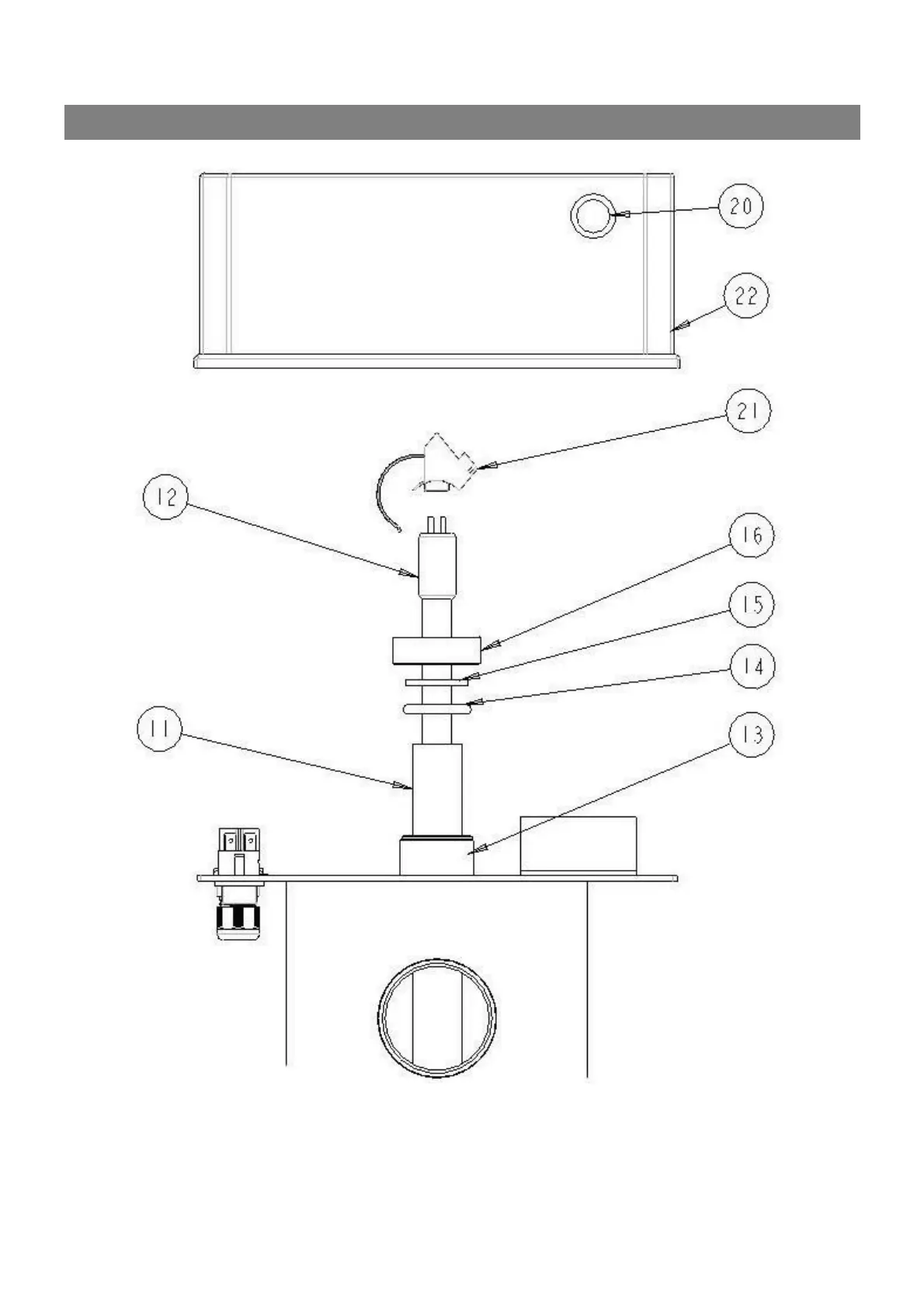
Sterilizzatore - Vista Spaccata

Related product manuals