EasyManua.ls Logo

BK Precision 8600 - 3.10 Key Lock

BK Precision 8600
107 pages
Print Icon
To Next Page IconTo Next Page
To Next Page IconTo Next Page
To Previous Page IconTo Previous Page
To Previous Page IconTo Previous Page
Loading...
63
PROGRAM 9
Sequence
1
2
3
4
5
6
7
8
9
10
Save Group
81
82
83
84
85
86
87
88
89
90
PROGRAM 10
Sequence
1
2
3
4
5
6
7
8
9
10
Save Group
91
92
93
94
95
96
97
98
99
100
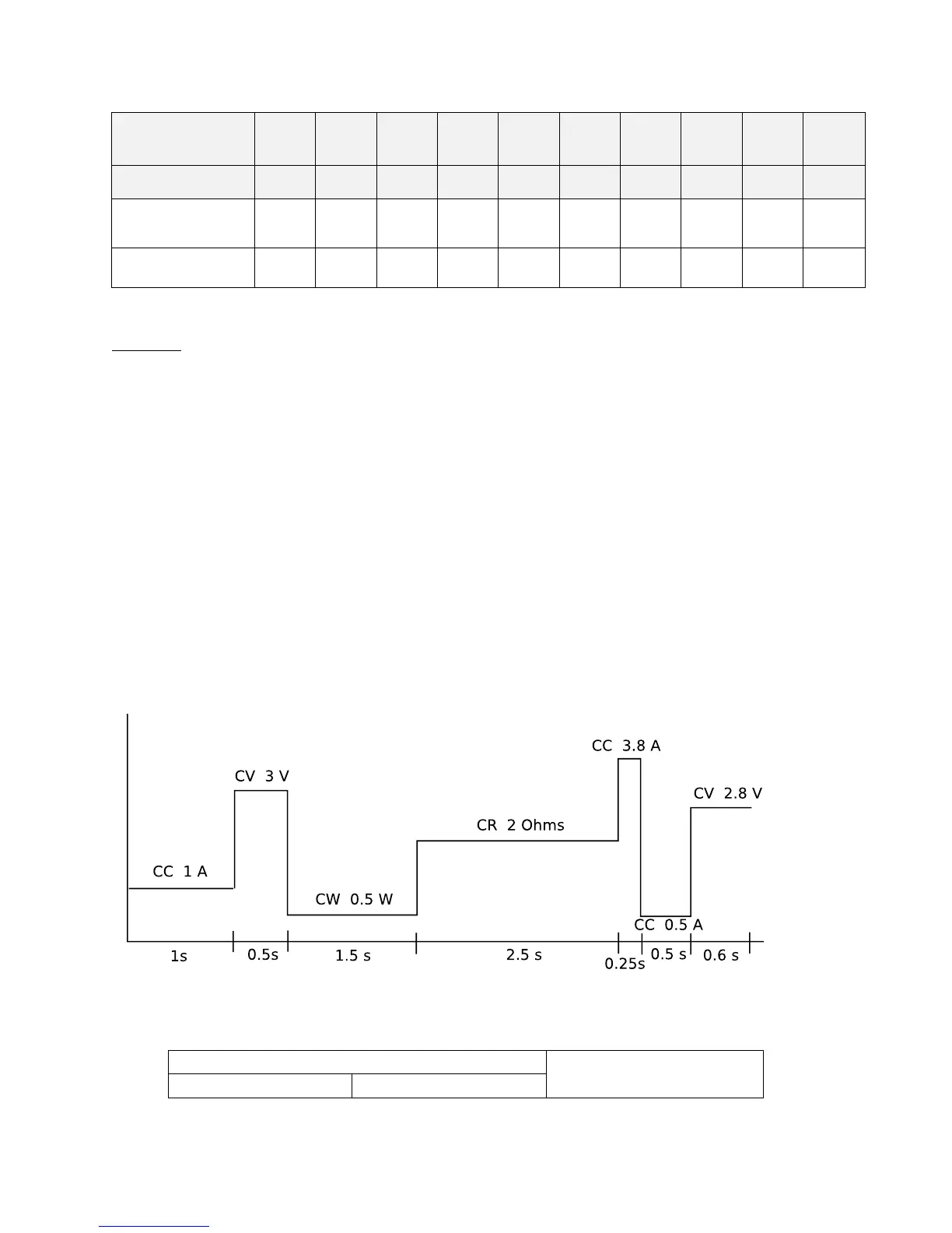
Example:
In Program 1, sequence 1 correlates to instrument settings stored in memory location 1.
In Program 5, sequence 5 correlates to instrument settings stored in memory location 45.
In Program 8, sequence 10 correlates to instrument settings stored in memory location 80.
Within each program, sequences can be activated or deactivated (skipped), but they run in
order from 1 through 10. Therefore, when setting and storing instrument settings into the
memory, keep in mind the order of which you want them to be recalled and run in the
automatic test program.
For example, suppose you want to run a test program that simulates the load profile below:
Configure and save settings into memory according to the table below:
Settings
Store to Memory location
Mode of Operation
Setting Value

Table of Contents

Related product manuals