EasyManua.ls Logo

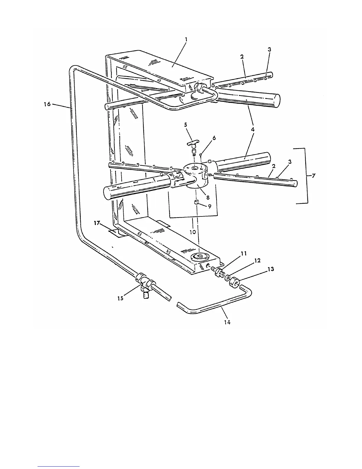
Blakeslee UC-21 - Spray Arms & Manifolds Diagram; Spray Arm and Manifold Component Identification

Blakeslee UC-21
22 pages
Print Icon
To Next Page IconTo Next Page
To Next Page IconTo Next Page
To Previous Page IconTo Previous Page
To Previous Page IconTo Previous Page
Loading...
FIGURE 2. SPRAY ARMS & MANIFOLDS
-11-

Related product manuals