EasyManua.ls Logo

Bluebird B742 - Model 742

Bluebird B742
44 pages
Print Icon
To Next Page IconTo Next Page
To Next Page IconTo Next Page
To Previous Page IconTo Previous Page
To Previous Page IconTo Previous Page
Loading...
34
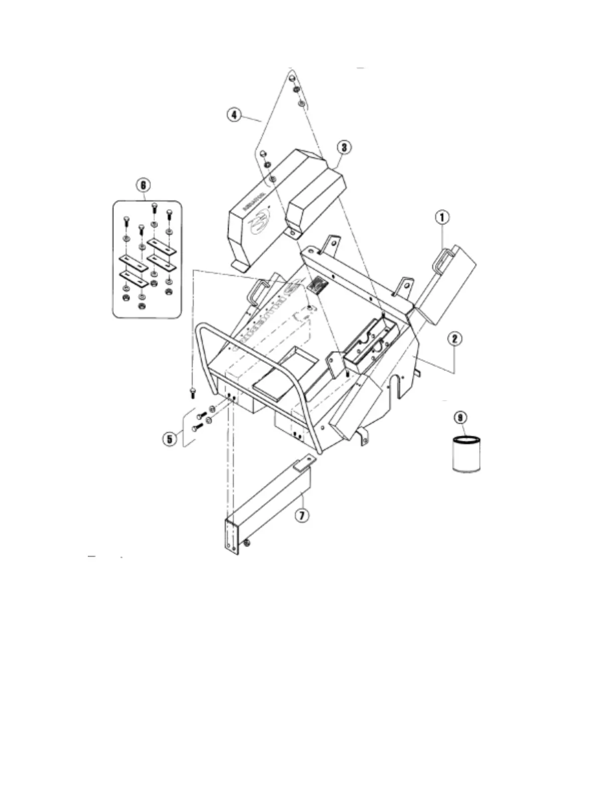
ITEM PART NO. QTY. DESCRIPTION
1 ...... 7600 .................2 ........... WEIGHT, 36 LBS., SOLID STEEL, REMOVABLE
2 ...... 7400 .................1 ........... HOUSING W/DECALS
3 ...... 7401 .................1 ........... DRIVE GUARD W/DECALS
4 ...... 7200 .................1 ........... FASTENER KIT, DRIVE GUARD
5 ...... 7402 .................2 ........... FASTENER KIT, WEIGHT
6 ...... 7203 .................1 ........... PLATE KIT, FOR HONDA ENGINE
7 ...... 7403 .................2 ........... 36 LB. WEIGHT, MOUNTED
9 ...... 0729 ............................... PAINT, BLUE, 1 QT. CAN
.......... 7404 .................1 ........... DECAL KIT (NOT SHOWN)
Parts Main Frame - Model 742

Related product manuals