EasyManua.ls Logo

Bobcat S450 - Page 42

Bobcat S450
233 pages
Print Icon
To Next Page IconTo Next Page
To Next Page IconTo Next Page
To Previous Page IconTo Previous Page
To Previous Page IconTo Previous Page
Loading...
40 S450 Operation & Maintenance Manual
MACHINE SIGNS (DECALS) (CONT’D)
Pictorial Only Safety Signs (Cont’d)
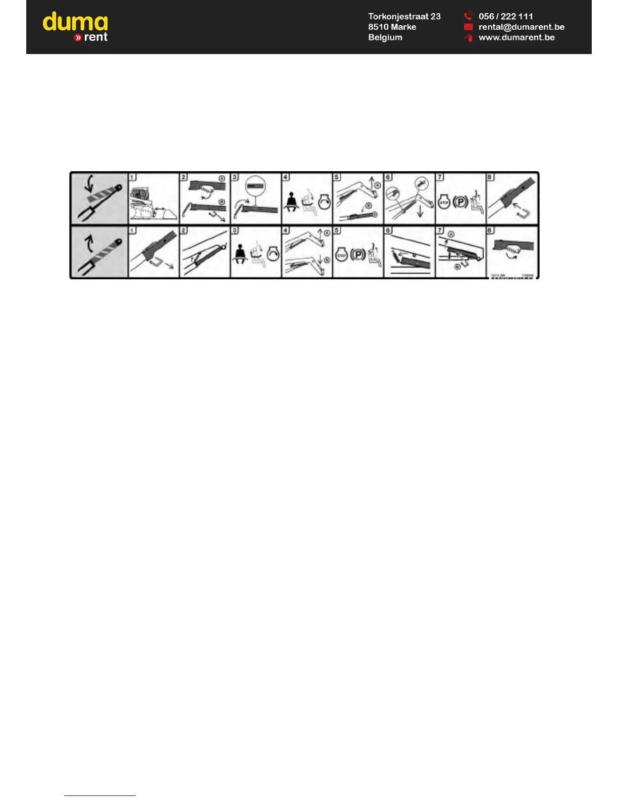
20. Lift Arm Support Device (7168036)
This safety sign is located on the outside of the operator cab on the lower right side.
To Engage Lift Arm Support Device:
1. Remove attachment from loader.
2. Unhook spring from pin. Hold lift arm support device. Remove pin. Lower the lift arm support device to the top of the
cylinder.
3. Hook spring into slot on top of lift arm support device.
4. Enter loader, fasten seat belt, lower seat bar, and start engine.
5. Raise lift arms until lift arm support device drops on cylinder rod.
6. Lower lift arms slowly until movement stops.
7. Stop engine. Raise seat bar. Move pedals until both pedals lock. Leave loader.
8. Install pin into rear of lift arm support device below cylinder rod.
To Disengage Lift Arm Support Device:
1. Remove pin.
2. Hook spring into bracket below lift arm.
3. Enter loader, fasten seat belt, lower seat bar, and start engine.
4. Raise lift arms until lift arm support device raises off cylinder rod. Lower lift arms.
5. Stop engine. Raise seat bar. Move pedals until both pedals lock. Leave loader.
6. Unhook spring from bracket.
7. Raise lift arm support device to storage position. Insert pin through lift arm support device and bracket.
8. Hook spring to pin.
NOTE: More illustrated and detailed information regarding Installing and Removing the lift arm support device is
located in this manual. (See LIFT ARM SUPPORT DEVICE on Page 141.)