EasyManua.ls Logo

Boeing 747 - Page 12

Boeing 747
96 pages
Print Icon
To Next Page IconTo Next Page
To Next Page IconTo Next Page
To Previous Page IconTo Previous Page
To Previous Page IconTo Previous Page
Loading...
2130581 S0000459142_V1
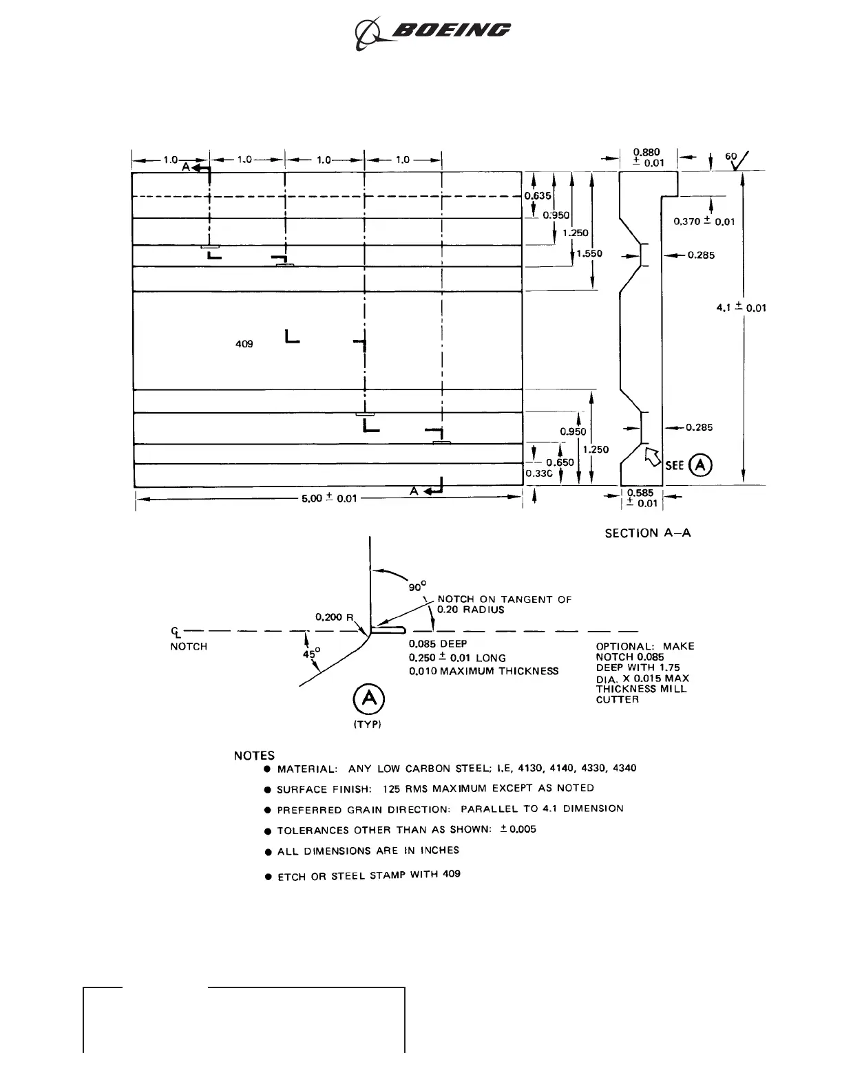
Reference Standard 409
Figure 1
747
NONDESTRUCTIVE TEST MANUAL
PART 4 54-30-03
Page 4
Nov 15/2015D6-7170
ECCN 9E991 BOEING PROPRIETARY - Copyright © Unpublished Work - See title page for details
EFFECTIVITY
ALL

Other manuals for Boeing 747

Related product manuals