EasyManua.ls Logo

Boeing 747 - Page 26

Boeing 747
96 pages
Print Icon
To Next Page IconTo Next Page
To Next Page IconTo Next Page
To Previous Page IconTo Previous Page
To Previous Page IconTo Previous Page
Loading...
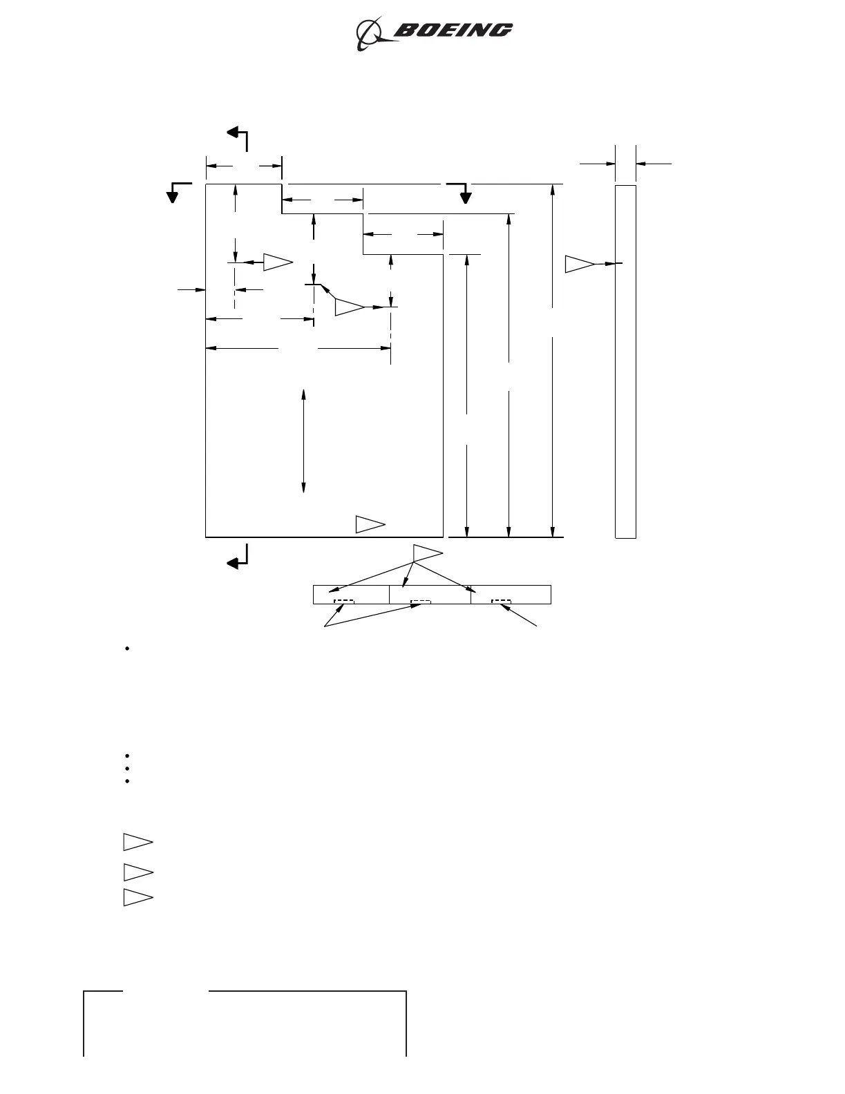
SURFACE FINISH:
63 RA OR
BETTER
IS
NECESSARY
DIRECTION
(OR
SALT
BATH)
AND LET THE
TEMPERATURE
OF
THE
PART
DECREASE
TO
AMBIENT.
A-A
0.20
(5.1)
GRAIN
B-B
NDT4106
(114)
(91)
3.6
4.1
(104)
4.5
(25)
1.0
(9.4)
0.37
(20)
0.8
(15)
0.6
(25)
1.0
(25)
1.0
(25)
1.0
___________
X.XX
=
±
0.1
X.X
=
±
0.25
X =
±
0.5
______
OR IN
A
SALT BATH
OF
EQUAL
TEMPERATURE
FOR
25
MINUTES.
1.
HEAT
IN
A
FURNACE
AT
1650
DEGREES
FAHRENHEIT
FOR
35
MINUTES
2. AT
THE END
OF
THE
HEAT
TIME,
REMOVE
THE
PART FROM
THE
FURNACE
THIS
MATERIAL
MUST
BE
NORMALIZED.
TO
NORMALIZE,
FOLLOW
THESE
STEPS:
TOLERANCE:
INCHES
MILLIMETERS
ALL
DIMENSIONS
ARE
IN
INCHES
(MILLIMETERS
ARE
IN
PARENTHESES)
X.XXX
=
±
0.005
X.XX
=
±
0.010
X.X
=
±
0.020
MAXIMUM
WIDTH
=
0.030
(0.76)
EDM
NOTCH
-
0.25
(6.3)
LONG
X
0.040
(1.02)
DEEP
ETCH
OR
STEEL STAMP
THE
REFERENCE
STANDARD
PART
NUMBER
NDT4106
AS
SHOWN
ETCH
OR
STEEL STAMP
THE
STEP
IDENTIFICATION
LETTER
AS
SHOWN
NOTES:
______
A
B C
(34.8)
1.37
(60.2)
2.37
MATERIAL:
4330M
OR
4340M STEEL
BAR
AS
SPECIFIED
IN
BOEING
MATERIAL
SPECIFICATION
(BMS)
7-122.
EDM
NOTCH
EDM
NOTCH
2
1
1
B
B
A
1
A
1
2
3
3
2130615 S0000459153_V1
Reference Standard NDT4106
Figure 2
747
NONDESTRUCTIVE TEST MANUAL
PART 4 54-30-05
Page 6
Nov 15/2015D6-7170
ECCN 9E991 BOEING PROPRIETARY - Copyright © Unpublished Work - See title page for details
EFFECTIVITY
ALL

Other manuals for Boeing 747

Related product manuals