EasyManua.ls Logo

Boeing 747 - Page 42

Boeing 747
96 pages
Print Icon
To Next Page IconTo Next Page
To Next Page IconTo Next Page
To Previous Page IconTo Previous Page
To Previous Page IconTo Previous Page
Loading...
5
5
3
4
2
1
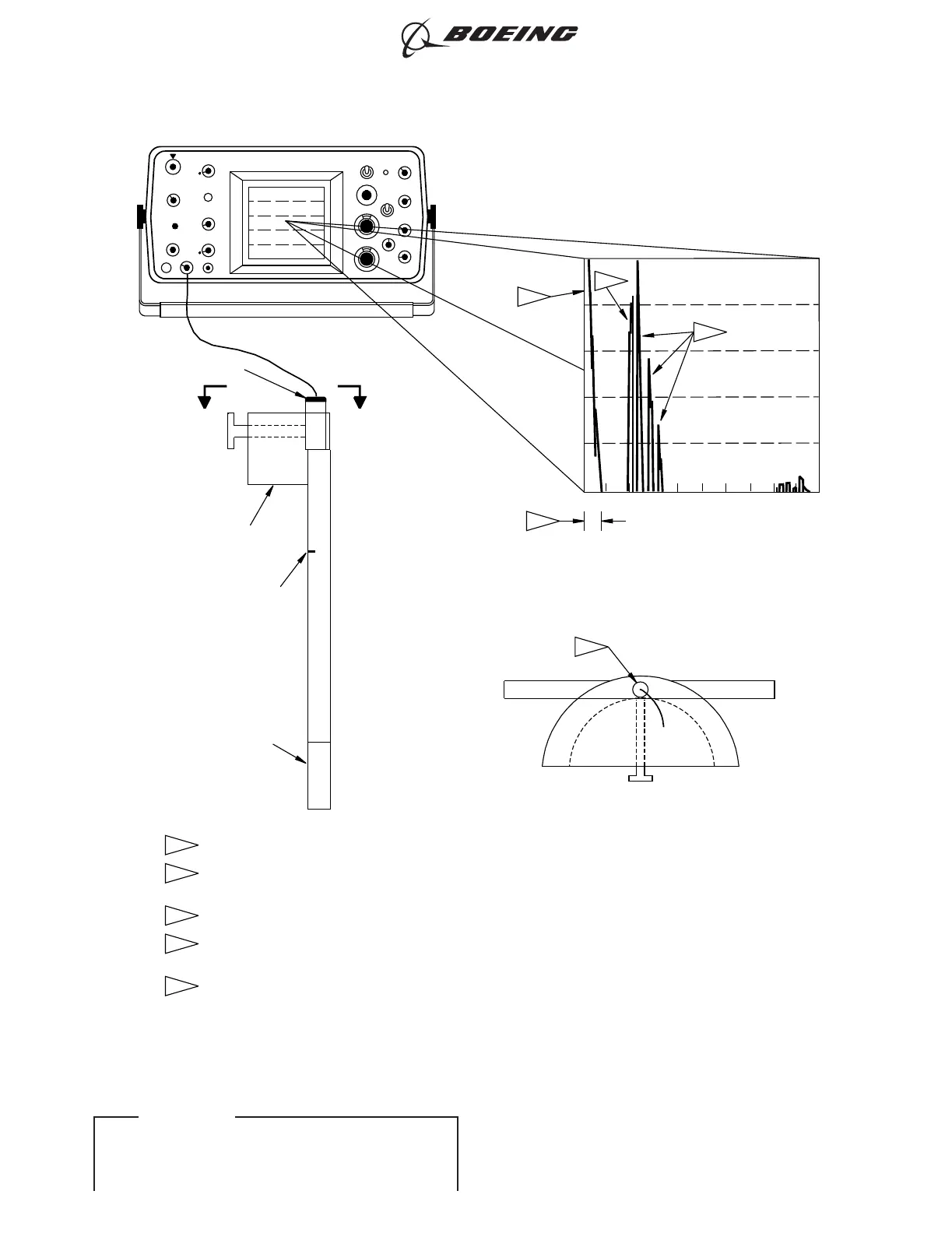
INSTRUMENT
SENSITIVITY CALIBRATION
4
3
2
1
STANDARD
REFERENCE
NDT
4107
NOTCH
REFERENCE
(VIEW
ROTATED
90
DEGREES
COUNTERCLOCKWISE)
A-A
TRANSDUCER
GUIDE
TRANSDUCER
A A
60%
40%
20%
100%
10
0
80%
8
6
2
4
ON
OFF
10P
10N
0
0
20 40
60
E
D
U
A
+5
+1
2.25
5
1
OFF
P
/
4 6 8
10
20
0
2
4
6
8
10
%
TURN
THE
TRANSDUCER
IN
THE
GUIDE
TO
GET
A
10%
FULL
SCREEN
WIDTH
INITIAL
PULSE
SIGNAL
MUST
NOT
BE
LARGER
THAN
SIGNALS
FROM MODE
CONVERSION
CORRECT
SCREEN
POSITION
REFERENCE
NOTCH
SIGNAL.
SEE
TABLE
1
FOR THE
INITIAL
PULSE
SIGNAL
AND
ADJUST
THE
SETSCREW
SO IT IS
TIGHT
MAXIMUM
SIGNAL
FROM
THE
REFERENCE
NOTCH
NOTES:
_____
2130648 S0000459166_V1
Sensitivity Calibration on Reference Standard NDT4107
Figure 7
747
NONDESTRUCTIVE TEST MANUAL
PART 4 54-30-06
Page 12
Nov 15/2015D6-7170
ECCN 9E991 BOEING PROPRIETARY - Copyright © Unpublished Work - See title page for details
EFFECTIVITY
ALL

Other manuals for Boeing 747

Related product manuals