EasyManua.ls Logo

Boeing 747 - Page 5

Boeing 747
96 pages
Print Icon
To Next Page IconTo Next Page
To Next Page IconTo Next Page
To Previous Page IconTo Previous Page
To Previous Page IconTo Previous Page
Loading...
2130571 S0000459136_V1
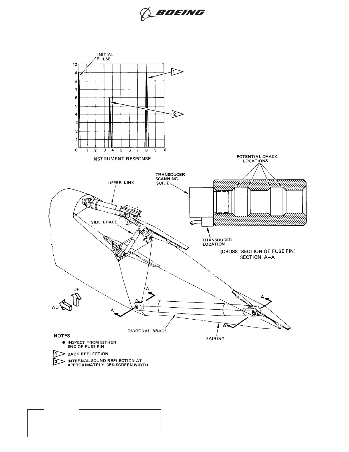
Strut Assembly
Figure 1
747
NONDESTRUCTIVE TEST MANUAL
PART 4 54-30-02
Page 3
Nov 15/2015D6-7170
ECCN 9E991 BOEING PROPRIETARY - Copyright © Unpublished Work - See title page for details
EFFECTIVITY
ALL

Other manuals for Boeing 747

Related product manuals