EasyManua.ls Logo

Boeing 747 - Page 74

Boeing 747
96 pages
Print Icon
To Next Page IconTo Next Page
To Next Page IconTo Next Page
To Previous Page IconTo Previous Page
To Previous Page IconTo Previous Page
Loading...
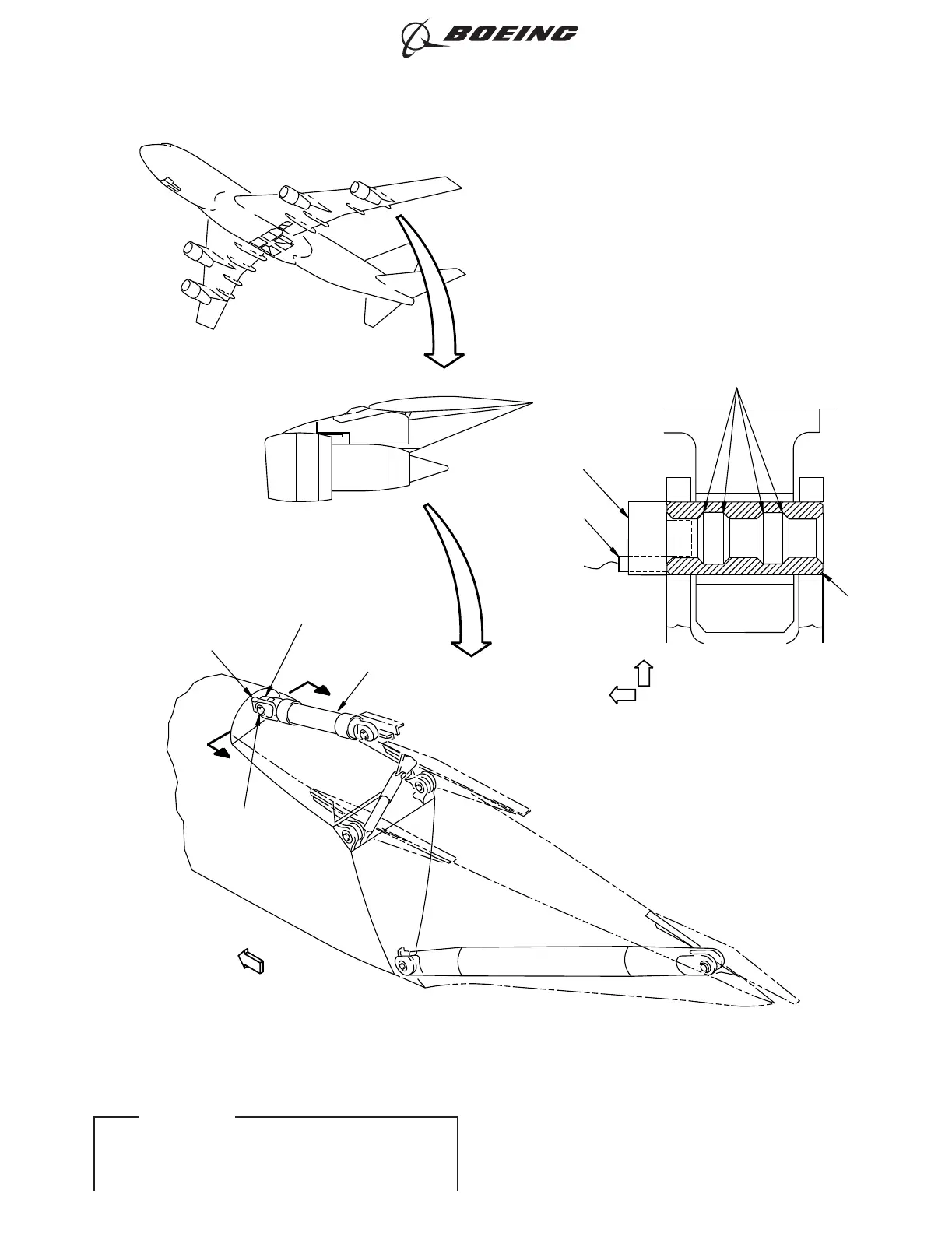
FWD
A-A
UP
POTENTIAL
CRACK
LOCATIONS
FUSE
PIN
OUTBD
TRANSDUCER
GUIDE
TRANSDUCER
FUSE
PIN
FACE
OF
THE
EXAMINE
THE
FUSE
PIN
FACE
OF
THE
EXAMINE
THE
A
A
THE
UPPER
LINK
FORWARD
END
OF
UPPER
LINK
ENGINE
NACELLE
AND
STRUT
2131066 S0000459184_V1
Strut Assembly
Figure 1
747
NONDESTRUCTIVE TEST MANUAL
PART 4 54-30-09
Page 6
Nov 15/2015D6-7170
ECCN 9E991 BOEING PROPRIETARY - Copyright © Unpublished Work - See title page for details
EFFECTIVITY
ALL

Other manuals for Boeing 747

Related product manuals