EasyManua.ls Logo

Boeing 747 - Page 7

Boeing 747
8 pages
Print Icon
To Next Page IconTo Next Page
To Next Page IconTo Next Page
To Previous Page IconTo Previous Page
To Previous Page IconTo Previous Page
Loading...
2132125 S0000459569_V1
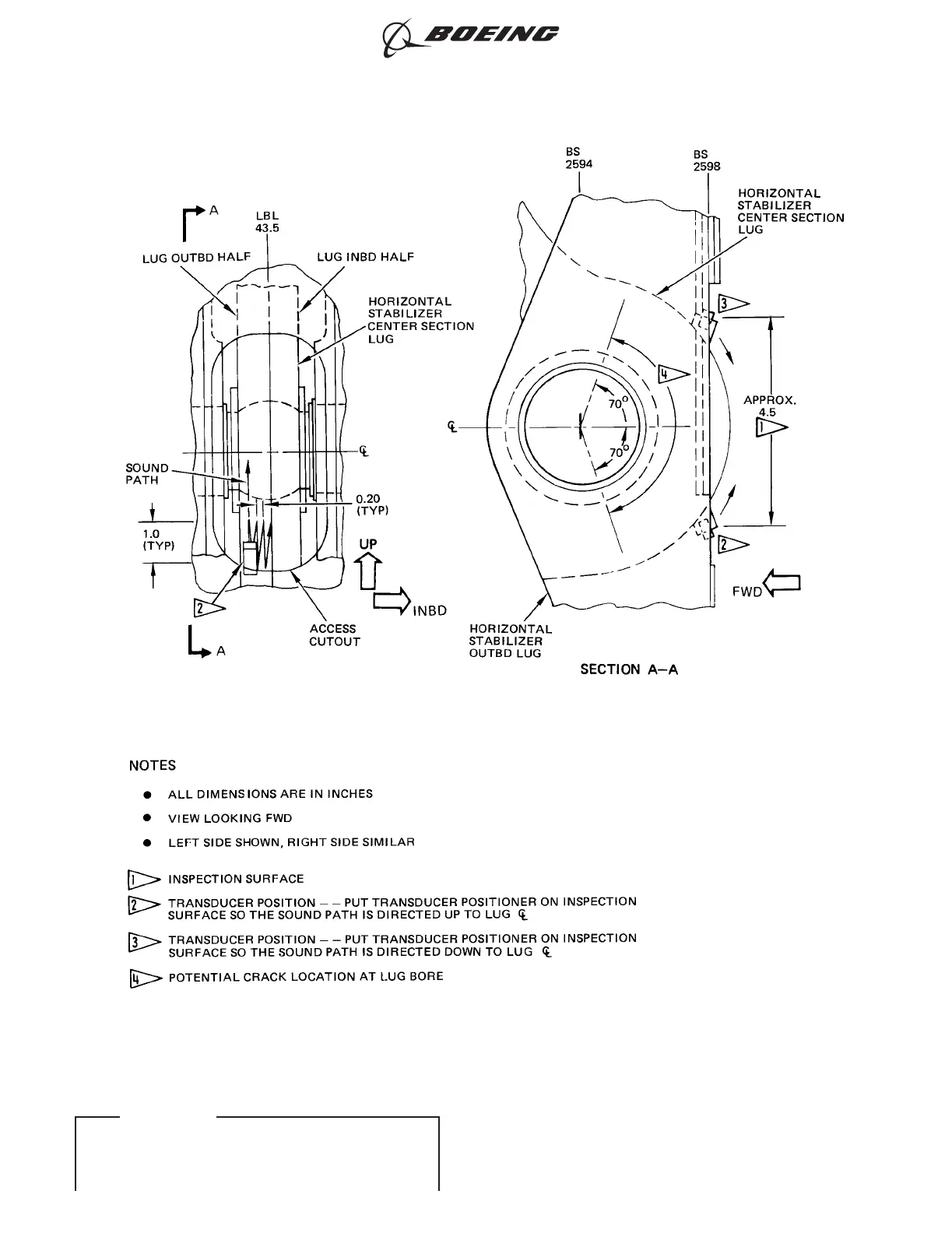
Horizontal Stabilizer Center Section Lug
Figure 4 (Sheet 2 of 2)
747
NONDESTRUCTIVE TEST MANUAL
PART 4 55-50-01
Page 7
Nov 15/2015D6-7170
ECCN 9E991 BOEING PROPRIETARY - Copyright © Unpublished Work - See title page for details
EFFECTIVITY
ALL

Other manuals for Boeing 747

Related product manuals