EasyManua.ls Logo

Boeing 747 - Page 5

Boeing 747
8 pages
Print Icon
To Next Page IconTo Next Page
To Next Page IconTo Next Page
To Previous Page IconTo Previous Page
To Previous Page IconTo Previous Page
Loading...
3
2
1
1
3
2
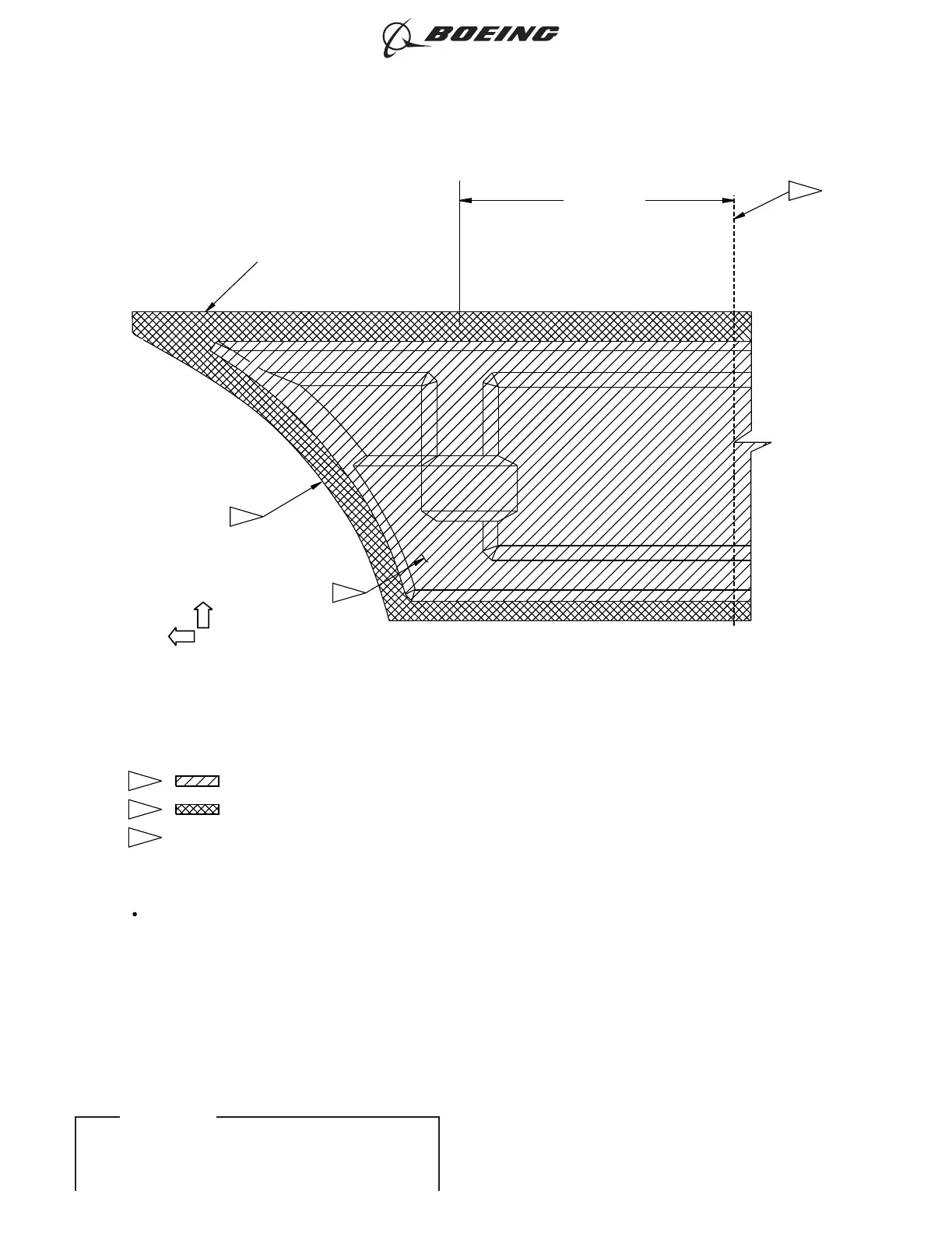
OUTBD
FWD
22.00 (559)
ILES
602.68
PANEL
ASSEMBLY
KRUEGER
FLAP
A-A
=
INSPECTION
ZONE
1
=
INSPECTION
ZONE
2
DO
THE
INSPECTION
FROM
THE
OUTBOARD
END
OF
THE
FLAP
TO
THIS
POINT
NOTES:
_____
DIMENSIONS
ARE
IN
INCHES
(MILLIMETERS
ARE
IN
PARENTHESES)
2134429 S0000460241_V1
Inspection Area Identification
Figure 1 (Sheet 2 of 2)
747
NONDESTRUCTIVE TEST MANUAL
PART 4 57-50-01
Page 5
Nov 15/2015D6-7170
ECCN 9E991 BOEING PROPRIETARY - Copyright © Unpublished Work - See title page for details
EFFECTIVITY
ALL; 747 AIRPLANES WITH COMPOSITE KRUEGER
FLAPS

Other manuals for Boeing 747

Related product manuals