EasyManua.ls Logo

BONFIGLIOLI TA 40

BONFIGLIOLI TA 40
34 pages
To Next Page IconTo Next Page
To Next Page IconTo Next Page
To Previous Page IconTo Previous Page
To Previous Page IconTo Previous Page
Loading...
24
TA 60
TA 60
TA 60_D
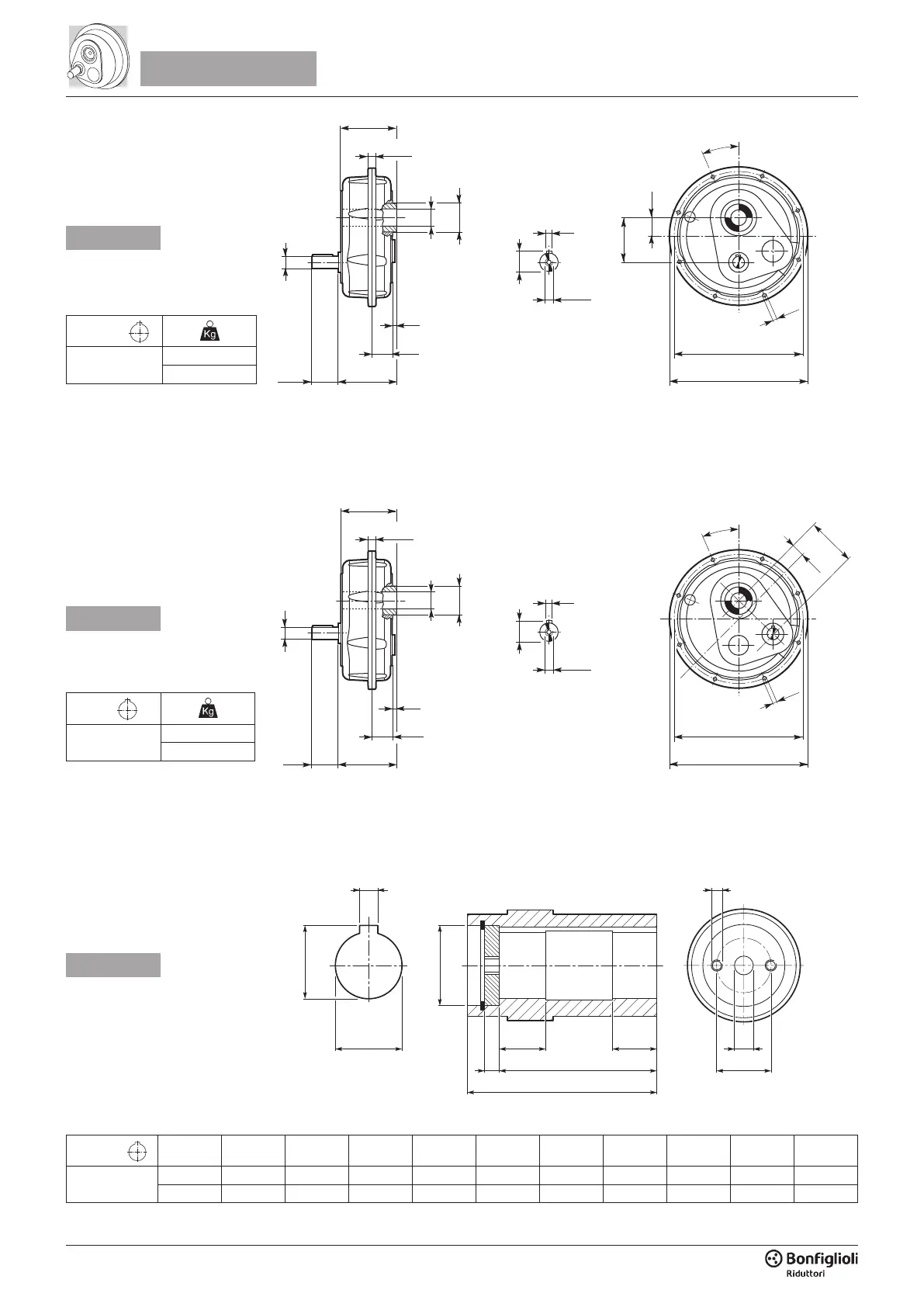
OUTPUT
B G7 BB BH G H HB HC R S T V
TA 60
60 60 18 64.4 14 17 M12 42 199 70 175 45
70 70 20 74.9 16 22 M16 50 199 85 175 45
TA 60
60 83
70 83
TA 60
60
D
97
70 97
TA 60
TA 60_D
~ 23°
162
67
42
h6
B
100
498*
468
110
208.5
73
15
28.5*
199
13
~ 23°
174
38
h6
B
100
498*
468
80
205
73
15
28.5*
199
13
M12
10
42
M12
12
45
47
TA 60
TA 60_D
~ 23°
162
67
42
h6
B
100
498*
468
110
208.5
73
15
28.5*
199
13
~ 23°
174
38
h6
B
100
498*
468
80
205
73
15
28.5*
199
13
M12
10
42
M12
12
45
47




* Le superci sono grezze * Surfaces are unmachined * Oberächen nicht bearbeitet * Les surfaces sont non-usinées

Related product manuals