EasyManua.ls Logo

Bonnet MA110 - Page 7

Default Icon
13 pages
Print Icon
To Next Page IconTo Next Page
To Next Page IconTo Next Page
To Previous Page IconTo Previous Page
To Previous Page IconTo Previous Page
Loading...
Page 6
N
O
B
N
E
BONNET CIDELCEM GRANDE CUISINE
Siége social:
Rue des Frères Lumière - Z.I Mitry Compans
77292 MITRY MORY Cedex
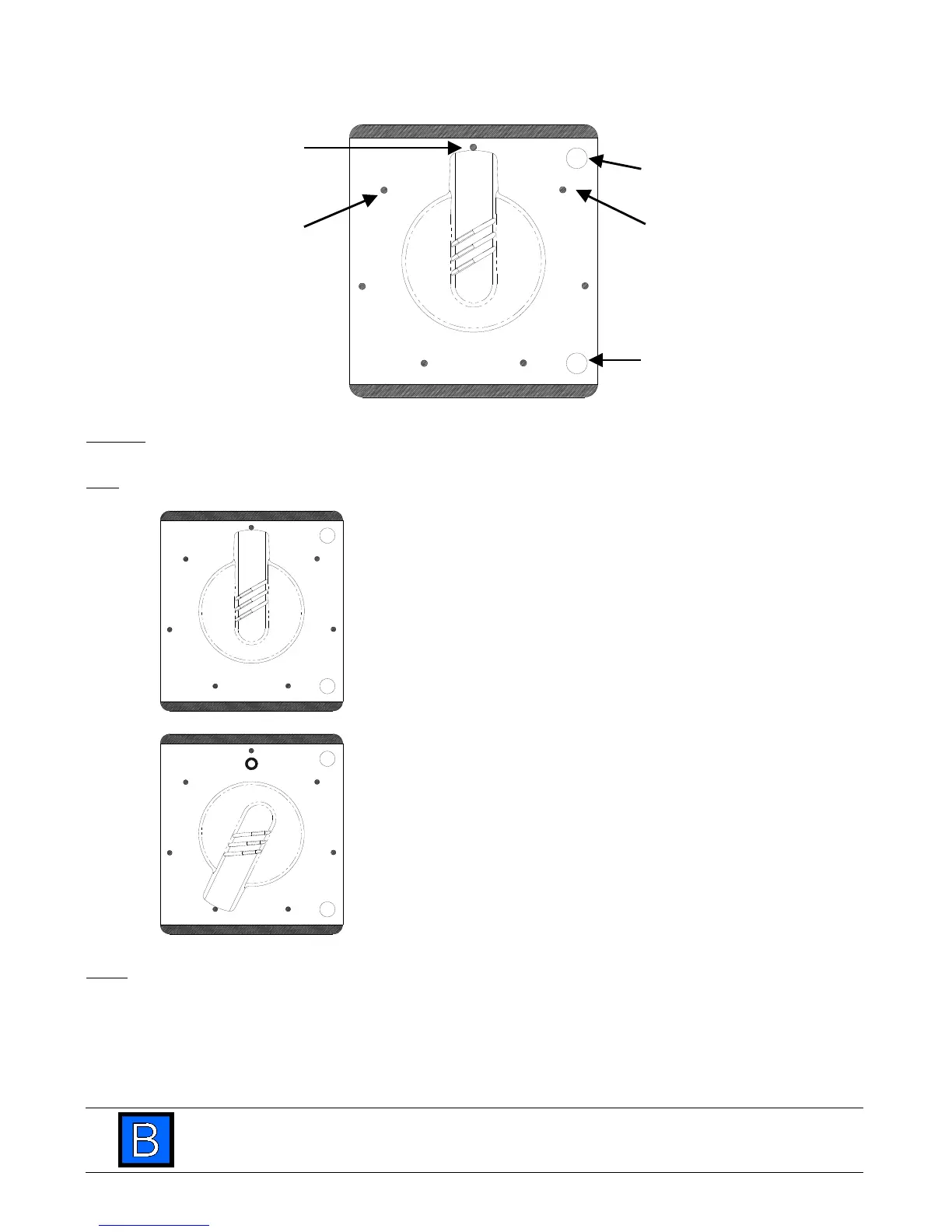
2.6 USE ELECTRIC BOILING PAN
Off position
Safety indicator
High heat position Low heat position
On indicator
4
5
3
2
1
6
Remark: If the safety indicator is lit, this indicates a lack of water in the double jacket.
USE
4
5
3
2
1
6
OFF POSITION
5
3
2
1
6
HEAT POSITION:
Turn the button to the desired setting. The On indicator
lights.
Minimum and maximum temperatures are obtained in
positions 1 and 6 respectively.
Note: For bain marie boiling pans a safety system will cut the heat if the water level in the jacket is too low.
Refill as per paragraph 2.4

Related product manuals